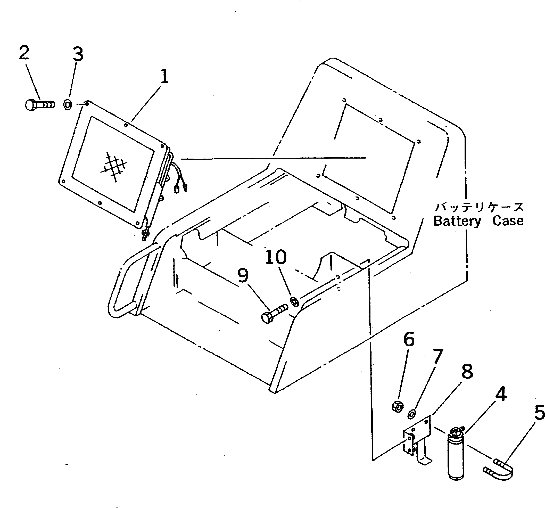
Запчасти Komatsu PC400HD-5K КОНДЕНСАТОР КОМПОНЕНТЫ (КОНДИЦ. ВОЗДУХА)(№-) ЧАСТИ КОРПУСА

Схема запчастей Komatsu PC400HD-5K - КОНДЕНСАТОР КОМПОНЕНТЫ (КОНДИЦ. ВОЗДУХА)(№-) ЧАСТИ КОРПУСА
FIT
1:1
100%

Артикул

Название

Примечание

Количество

1

207-979-5420

CONDENSER ASS'Y

2

01010-50820

BOLT

3

01643-30823

WASHER

4

203-979-6610

RECEIVER DRYER

5

205-979-1230

CLIP

6

01599-01011

NUT

7

01643-31032

WASHER

8

207-979-5430

BRACKET

9

01010-51225

BOLT

10

01643-31232

WASHER

Выбрано товаров: 10