Запчасти Komatsu PC400HD-5K КОВШ¤ .M¤ MM (ГОРИЗОНТАЛЬН. ПАЛЕЦ) РАБОЧЕЕ ОБОРУДОВАНИЕ (ЭКСКАВАТ.)

Схема запчастей Komatsu PC400HD-5K - КОВШ¤ .M¤ MM (ГОРИЗОНТАЛЬН. ПАЛЕЦ) РАБОЧЕЕ ОБОРУДОВАНИЕ (ЭКСКАВАТ.)
FIT
1:1
100%

Артикул

Название

Примечание

Количество

G-1

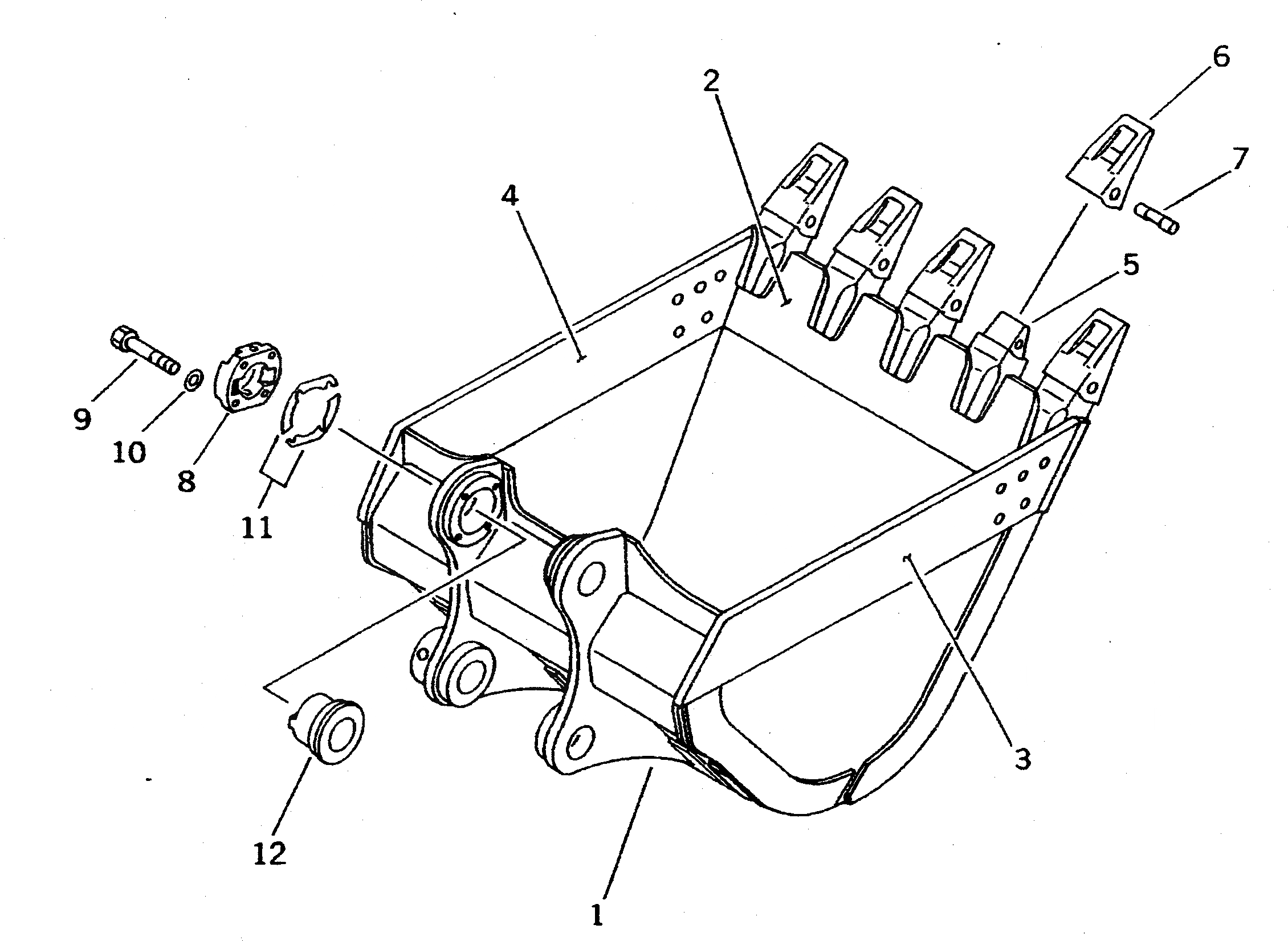
208-70-X4050

BUCKET GROUP

1

208-70-54410

BUCKET

2

208-70-54140

PLATE (WELDED)

3

208-70-54131

PLATE (WELDED)

|3

208-70-54130

PLATE (WELDED)

4

208-70-54121

PLATE (WELDED)

|4

208-70-54120

PLATE (WELDED)

5

208-939-3120

ADAPTER (WELDED)

6

208-70-14152

TOOTH

7

09244-03036

PIN

8

208-70-34240

COVER

9

01010-32470

BOLT

10

01643-32460

WASHER

G-2

208-70-X4030

PARTS GROUP,INDIVIDUALLY FORWARDING

11

208-70-00080

SHIM ASS'Y

|11

SHIM¤ 0.5MM

|11

SHIM¤ 1.0MM

12

208-70-34230

BUSHING

Выбрано товаров: 18