Запчасти Komatsu PC400HD-5K МЕХАНИЗМ УПРАВЛ-Я ПОДАЧЕЙ ТОПЛИВА(№-) СИСТЕМА УПРАВЛЕНИЯ И ОСНОВНАЯ РАМА

Схема запчастей Komatsu PC400HD-5K - МЕХАНИЗМ УПРАВЛ-Я ПОДАЧЕЙ ТОПЛИВА(№-) СИСТЕМА УПРАВЛЕНИЯ И ОСНОВНАЯ РАМА
FIT
1:1
100%

Артикул

Название

Примечание

Количество

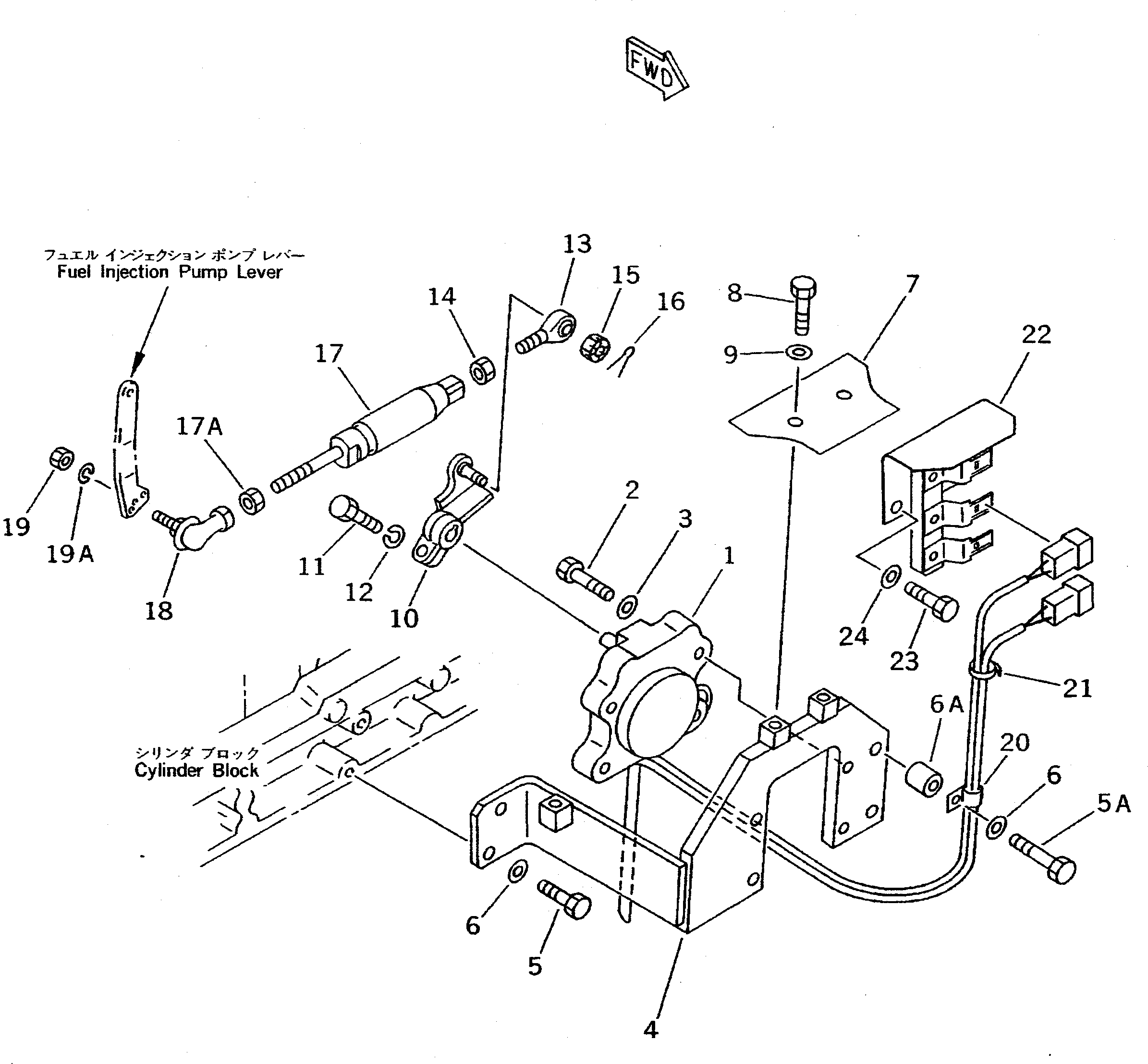
1

7824-34-1600

MOTOR ASS'Y

2

01010-51040

BOLT

3

01643-31032

WASHER

4

208-43-54122

BRACKET

5

01010-51025

BOLT

5A

01010-51055

BOLT

6

01643-31032

WASHER

6A

144-874-7470

BOSS

7

208-43-54132

COVER

8

01010-51020

BOLT

9

01643-31032

WASHER

10

208-43-54140

LEVER

11

01010-51030

BOLT

12

01602-21030

WASHER,SPRING

13

04252-21061

END

14

01582-11008

NUT

15

01593-31008

NUT

16

04050-12018

PIN,COTTER

17

208-43-54112

SPRING ASS'Y

17A

01582-31008

NUT

18

20Y-43-12180

JOINT

19

01580-10605

NUT

19A

01602-20619

WASHER

20

08036-00814

CLIP

21

08034-00414

BAND

22

208-06-51382

BRACKET

23

01010-51020

BOLT

24

01643-31032

WASHER

Выбрано товаров: 28