Запчасти Komatsu PC400HD-5K ПРАВ. СТОЙКА И РЫЧАГ(R.)(FWC) СИСТЕМА УПРАВЛЕНИЯ И ОСНОВНАЯ РАМА

Схема запчастей Komatsu PC400HD-5K - ПРАВ. СТОЙКА И РЫЧАГ(R.)(FWC) СИСТЕМА УПРАВЛЕНИЯ И ОСНОВНАЯ РАМА
FIT
1:1
100%

Артикул

Название

Примечание

Количество

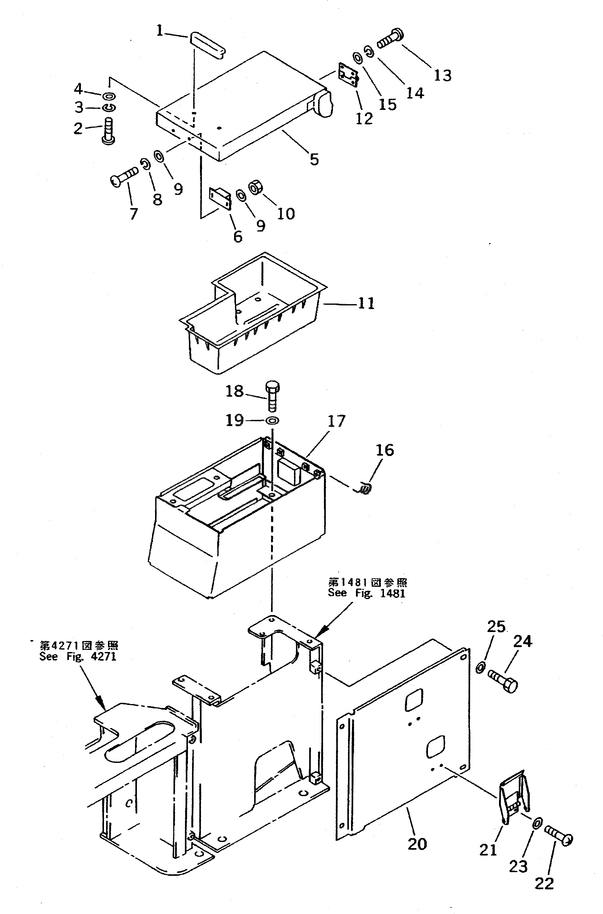
G-1

207-43-X3000

CONTROL GROUP

1

20Y-06-16330

HANDLE

2

01220-40510

SCREW

3

01601-20513

WASHER,SPRING

4

01641-20508

WASHER

5

20Y-06-16322

COVER

6

09452-14503

CATCHER

7

01220-40310

SCREW

8

01601-20307

WASHER,SPRING

9

01641-20305

WASHER

10

01580-10302

NUT

11

20Y-06-16341

TRAY

12

20Y-06-16350

HINGE

13

01220-40510

SCREW

14

01601-20513

WASHER,SPRING

15

01641-20508

WASHER

16

20Y-06-16581

SPRING

|16

20Y-43-11860

SPRING,(TBG SPEC.)

17

20Y-06-16312

BOX

18

01010-50816

BOLT

19

01643-30823

WASHER

20

208-43-53110

COVER

21

20Y-43-16250

COVER

22

01220-40408

SCREW

23

01641-20405

WASHER

24

01010-50820

BOLT

25

01643-30823

WASHER

Выбрано товаров: 0