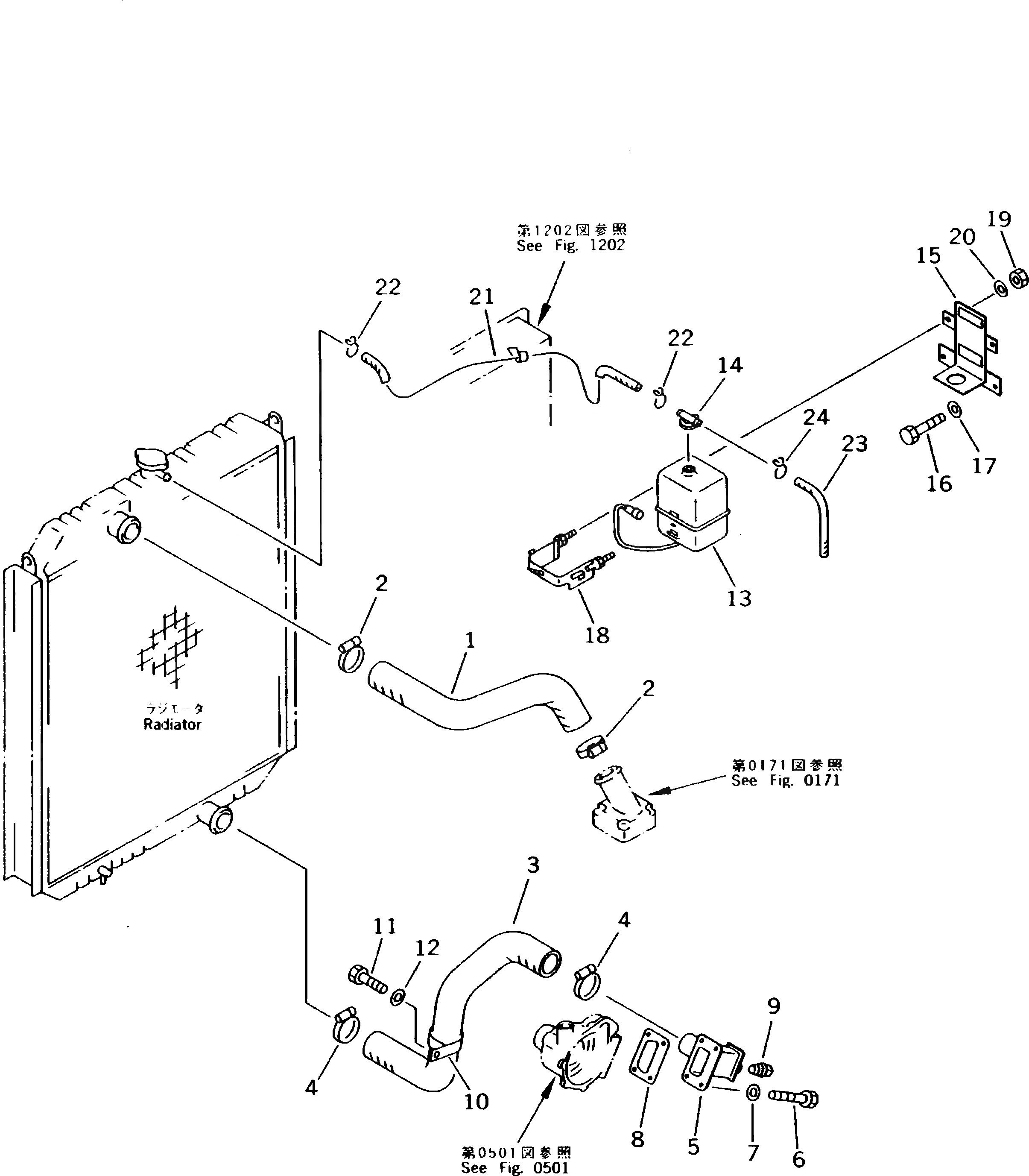
Запчасти Komatsu PC400HD-5K СИСТЕМА ТРУБ РАДИАТОРА КОМПОНЕНТЫ ДВИГАТЕЛЯ И ЭЛЕКТРИКА

Схема запчастей Komatsu PC400HD-5K - СИСТЕМА ТРУБ РАДИАТОРА КОМПОНЕНТЫ ДВИГАТЕЛЯ И ЭЛЕКТРИКА
FIT
1:1
100%

Артикул

Название

Примечание

Количество

1

208-03-52230

HOSE

2

07289-00070

CLAMP

|2

208-09-11120

CLAMP

3

208-03-52220

HOSE

4

07289-00070

CLAMP

|4

208-09-11120

CLAMP

5

207-03-31160

CONNECTOR

6

01010-51025

BOLT

7

01643-51032

WASHER

8

207-03-31271

GASKET

|8

207-03-31270

GASKET

9

07042-30312

PLUG

10

207-03-51530

CLIP

11

01010-51230

BOLT

12

01643-31232

WASHER

13

20Y-06-15240

TANK ASS'Y

14

205-03-71532

CAP

|14

205-03-71531

CAP

15

208-03-52350

BRACKET

16

01010-51230

BOLT

17

01643-31232

WASHER

18

20Y-03-11361

BAND

19

01580-10806

NUT

20

01643-30823

WASHER

21

20Y-03-11270

HOSE

22

206-03-43340

CLIP

23

206-03-43331

HOSE

24

206-03-43340

CLIP

Выбрано товаров: 28