Запчасти Komatsu PC400LC-1 ГИДР. БАК.(№-) УПРАВЛ-Е РАБОЧИМ ОБОРУДОВАНИЕМ

Схема запчастей Komatsu PC400LC-1 - ГИДР. БАК.(№-) УПРАВЛ-Е РАБОЧИМ ОБОРУДОВАНИЕМ
FIT
1:1
100%

Артикул

Название

Примечание

Количество

|$0

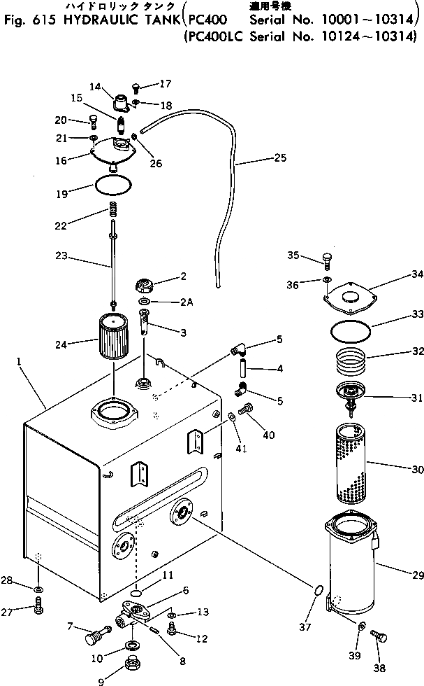
208-60-00011

HYDRAULIC TANK ASS'Y

|$1

208-60-00010

HYDRAULIC TANK ASS'Y

1

208-60-11112

TANK

2

07051-01000

CAP

2A

07051-00003

GASKET

3

07056-10045

STRAINER

4

203-60-31160

TUBE

5

203-60-31100

ELBOW ASS'Y

|$8

155-60-12500

VALVE ASS'Y

6

155-60-12510

BODY

7

155-60-12520

VALVE

8

04025-00532

PIN

9

07040-12412

PLUG

10

07005-02416

GASKET

11

07000-03025

O-RING

12

01010-31025

BOLT

13

01643-31032

WASHER

14

205-60-65180

CAP

15

205-68-51220

SAFETY VALVE ASS'Y

16

208-60-11143

COVER

17

01010-31020

BOLT

18

01643-31032

WASHER

19

07000-05180

O-RING

20

01010-31225

BOLT

21

01643-31232

WASHER

22

12R-60-11230

SPRING

23

208-60-11151

SUPPORT

24

207-60-11130

STRAINER

25

208-60-11210

HOSE

26

07281-10197

CLAMP

27

01010-31635

BOLT

28

01643-31645

WASHER

|$32

208-60-00020

HYDRAULIC FILTER A.

29

208-60-11190

CASE

30

205-60-51430

ELEMENT

31

12R-60-11300

VALVE ASS'Y

32

12R-60-11390

SPRING

33

07000-05180

O-RING

34

205-60-65130

COVER

35

01010-31230

BOLT

36

01643-31232

WASHER

37

07000-02070

O-RING

38

01010-31240

BOLT

39

01643-31232

WASHER

40

01010-31225

BOLT

41

01643-31232

WASHER

42

07092-00000

CAP,(FOR VANDALISM) (NOT SHOWN)

Выбрано товаров: 47