Запчасти Komatsu PC400LC-1 ГИДР. БАК.(№-) УПРАВЛ-Е РАБОЧИМ ОБОРУДОВАНИЕМ

Схема запчастей Komatsu PC400LC-1 - ГИДР. БАК.(№-) УПРАВЛ-Е РАБОЧИМ ОБОРУДОВАНИЕМ
FIT
1:1
100%

Артикул

Название

Примечание

Количество

|$0

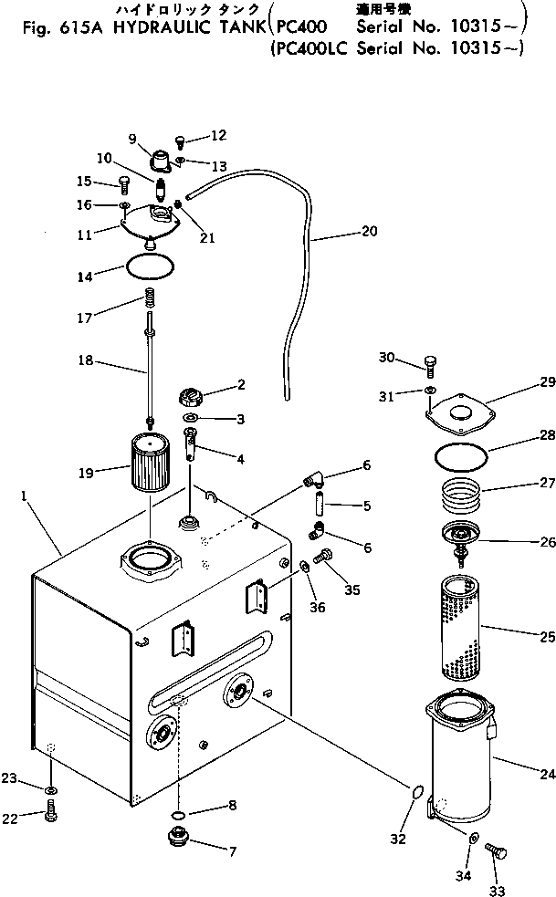
208-60-00011

HYDRAULIC TANK ASS'Y

1

208-60-11113

TANK

2

07051-01000

CAP

3

07051-00003

GASKET

4

07056-10045

STRAINER

5

203-60-31160

TUBE

6

203-60-31100

ELBOW ASS'Y

7

07044-13620

PLUG

8

07002-03634

O-RING

9

205-60-65180

CAP

10

205-68-51220

SAFETY VALVE ASS'Y

11

208-60-11143

COVER

12

01010-31020

BOLT

13

01643-31032

WASHER

14

07000-05180

O-RING

15

01010-31225

BOLT

16

01643-31232

WASHER

17

12R-60-11230

SPRING

18

208-60-11151

SUPPORT

19

207-60-11130

STRAINER

20

208-60-11210

HOSE

21

07281-10197

CLAMP

22

01010-31635

BOLT

23

01643-31645

WASHER

|$24

208-60-00020

HYDRAULIC FILTER A.

24

208-60-11190

CASE

25

205-60-51430

ELEMENT

26

12R-60-11300

VALVE ASS'Y

27

12R-60-11390

SPRING

28

07000-05180

O-RING

29

205-60-65130

COVER

30

01010-31230

BOLT

31

01643-31232

WASHER

32

07000-02070

O-RING

33

01010-31240

BOLT

34

01643-31232

WASHER

35

01010-31225

BOLT

36

01643-31232

WASHER

37

07092-00000

CAP,(FOR VANDALISM) (NOT SHOWN)

Выбрано товаров: 39