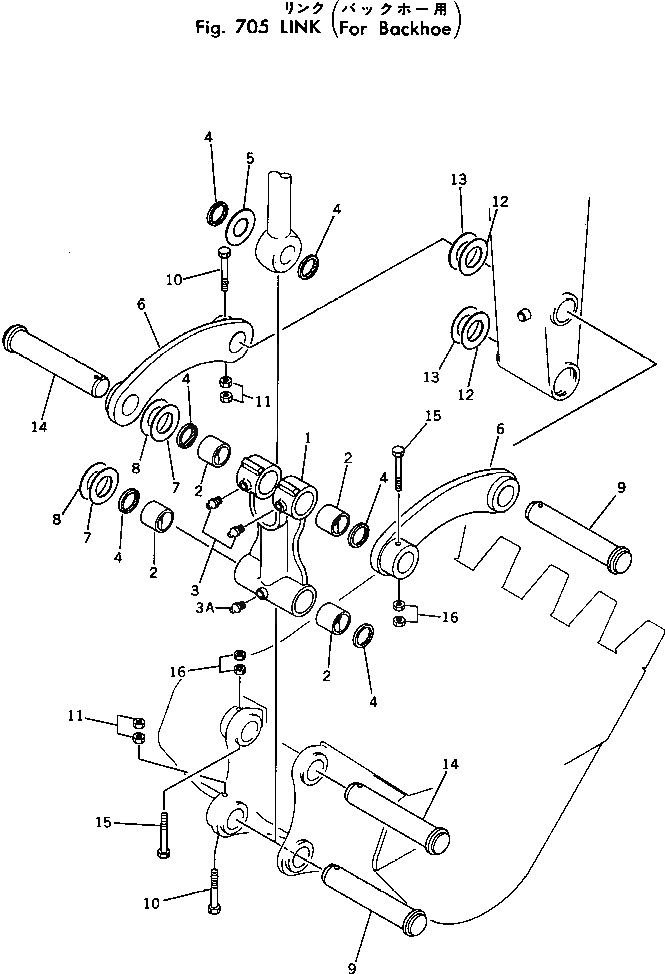
Запчасти Komatsu PC400LC-1 СОЕДИНИТЕЛЬН. ЗВЕНО (ДЛЯ ЭКСКАВАТ.) РАБОЧЕЕ ОБОРУДОВАНИЕ

Схема запчастей Komatsu PC400LC-1 - СОЕДИНИТЕЛЬН. ЗВЕНО (ДЛЯ ЭКСКАВАТ.) РАБОЧЕЕ ОБОРУДОВАНИЕ
FIT
1:1
100%

Артикул

Название

Примечание

Количество

|$0

208-70-00031

LINK ASS'Y

|$1

208-70-00030

LINK ASS'Y

1

LINK

2

208-70-13141

BUSHING

3

07020-00675

FITTING

3A

07020-00000

FITTING

3A

07020-00675

FITTING

4

208-70-12231

SEAL

5

207-70-11340

SPACER, 0.8MM

6

208-70-13112

LINK

7

207-70-11340

SPACER, 0.8MM

8

207-70-11350

SPACER, 1.5MM

9

208-70-13132

PIN

10

207-70-13340

BOLT

11

01580-12419

NUT

12

207-70-11340

SPACER, 0.8MM

13

207-70-11350

SPACER, 1.5MM

14

208-70-13132

PIN

15

207-70-13340

BOLT

16

01580-12419

NUT

Выбрано товаров: 20