Запчасти Komatsu PC400LC-1 ТОПЛИВН. ПРЕФИЛЬТР (КРОМЕ ЯПОН.) ОПЦИОННЫЕ КОМПОНЕНТЫ

Схема запчастей Komatsu PC400LC-1 - ТОПЛИВН. ПРЕФИЛЬТР (КРОМЕ ЯПОН.) ОПЦИОННЫЕ КОМПОНЕНТЫ
FIT
1:1
100%

Артикул

Название

Примечание

Количество

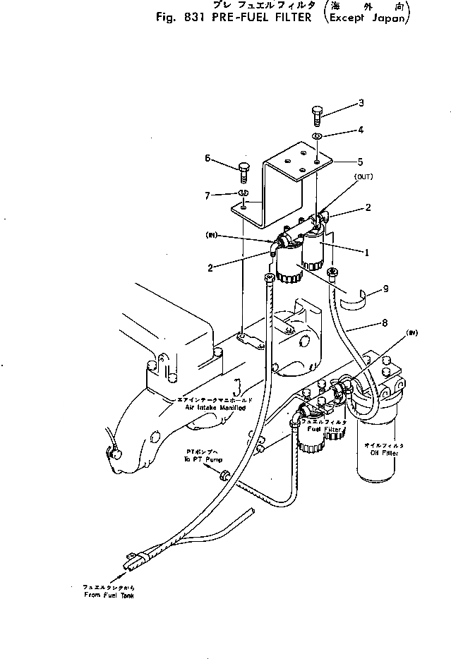
1

600-311-9400

FUEL FILTER ASS'Y

2

6710-71-8470

ELBOW

3

02010-20632

BOLT

4

01602-00929

WASHER,SPRING

5

208-04-11250

BRACKET

6

02010-20632

BOLT

7

01602-00929

WASHER,SPRING

8

02750-24045

HOSE

9

6712-81-8620

PLATE, CAUTION,(ENGLISH)

9

6712-81-8630

PLATE, CAUTION,(SPANISH)

9

6712-81-8640

PLATE, CAUTION,(GERMAN)

9

6712-81-8650

PLATE, CAUTION,(FRENCH)

9

6712-81-8660

PLATE, CAUTION,(ARABIC)

9

6712-81-8670

PLATE, CAUTION,(RUSSIAN)

9

6712-81-8680

PLATE, CAUTION,(RUSSIAN)

9

6712-81-8690

PLATE, CAUTION,(CHINESE)

9

6712-81-8710

PLATE, CAUTION,(VIETNAMESE)

9

6712-81-8720

PLATE, CAUTION,(INDONESIAN)

9

6712-81-8730

PLATE, CAUTION,(CZECHO)

9

6712-81-8740

PLATE, CAUTION,(PORTUGUESE)

9

6712-81-8750

PLATE, CAUTION,(ITALIAN)

Выбрано товаров: 21