Запчасти Komatsu PC400LC-1 РАДИО-LESS ОПЦИОННЫЕ КОМПОНЕНТЫ

Схема запчастей Komatsu PC400LC-1 - РАДИО-LESS ОПЦИОННЫЕ КОМПОНЕНТЫ
FIT
1:1
100%

Артикул

Название

Примечание

Количество

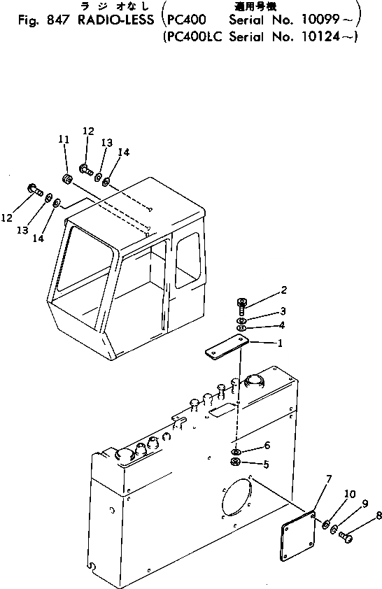
1

203-06-31160

PLATE

2

205-06-62170

BOLT

3

205-06-62180

WASHER,SPRING

4

205-06-62190

WASHER

5

01580-10403

NUT

6

145-Z79-6630

WASHER

7

203-06-31130

PLATE

8

01220-40410

SCREW

9

01601-20410

WASHER,SPRING

10

01641-20405

WASHER

11

09415-00706

CAP

12

01220-40410

SCREW

13

01601-20410

WASHER,SPRING

14

01641-20405

WASHER

Выбрано товаров: 14