Запчасти Komatsu PC400LC-1 CAR ЛИНИЯ ОХЛАЖДЕНИЯ (/)(№-77) ОПЦИОННЫЕ КОМПОНЕНТЫ

Схема запчастей Komatsu PC400LC-1 - CAR ЛИНИЯ ОХЛАЖДЕНИЯ (/)(№-77) ОПЦИОННЫЕ КОМПОНЕНТЫ
FIT
1:1
100%

Артикул

Название

Примечание

Количество

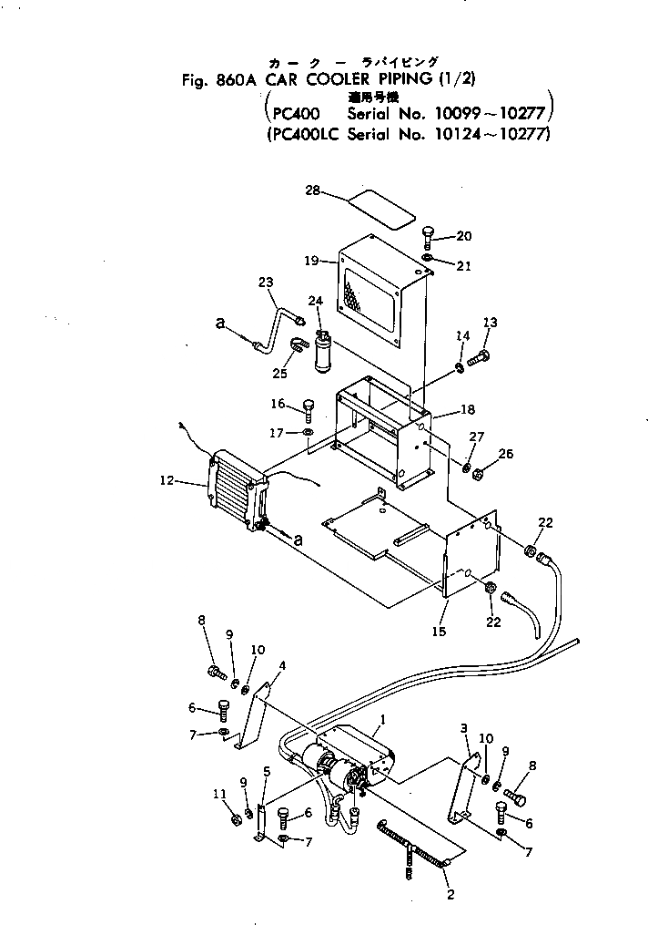
1

205-981-5110

COOLING UNIT

2

205-981-5170

HOSE

3

205-978-6720

BRACKET,L.H.

4

205-978-6730

BRACKET,R.H.

5

205-978-6740

BRACKET

6

01010-51230

BOLT

7

01643-31232

WASHER

8

01010-50820

BOLT

9

01602-20825

WASHER,SPRING

10

01643-30823

WASHER

11

01580-10806

NUT

12

205-981-5120

CONDENSER UNIT

13

01010-50820

BOLT

14

01602-20825

WASHER,SPRING

15

208-54-13620

FLOOR

16

01010-31225

BOLT

17

01643-31232

WASHER

18

208-978-1140

COVER

19

208-978-1150

COVER

20

01010-31225

BOLT

21

01643-31232

WASHER

22

08037-03614

GROMMET

23

207-978-1150

TUBE

24

566-07-11240

RECEIVER

25

07283-26155

CLIP

26

01599-01011

NUT

27

01643-31032

WASHER

28

154-54-23260

SEAT

Выбрано товаров: 28