Запчасти Komatsu PC400LC-1 АНТИОБЛЕДЕНИТЕЛЬ (ДЛЯ США) ОПЦИОННЫЕ КОМПОНЕНТЫ (СПЕЦ. APPLICATION ЧАСТИ)

Схема запчастей Komatsu PC400LC-1 - АНТИОБЛЕДЕНИТЕЛЬ (ДЛЯ США) ОПЦИОННЫЕ КОМПОНЕНТЫ (СПЕЦ. APPLICATION ЧАСТИ)
FIT
1:1
100%

Артикул

Название

Примечание

Количество

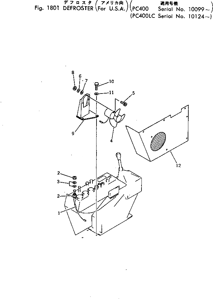
1

205-06-64470

WIRE ASS'Y

2

144-911-6130

SWITCH

3

485-54-18310

SHIM

4

144-911-6120

FAN

5

205-06-62170

BOLT

6

205-06-62180

WASHER

7

205-06-62190

WASHER

8

01580-10403

NUT

9

205-06-64490

BRACKET

10

01010-51235

BOLT

11

01643-31232

WASHER

12

205-06-64480

COVER

Выбрано товаров: 12