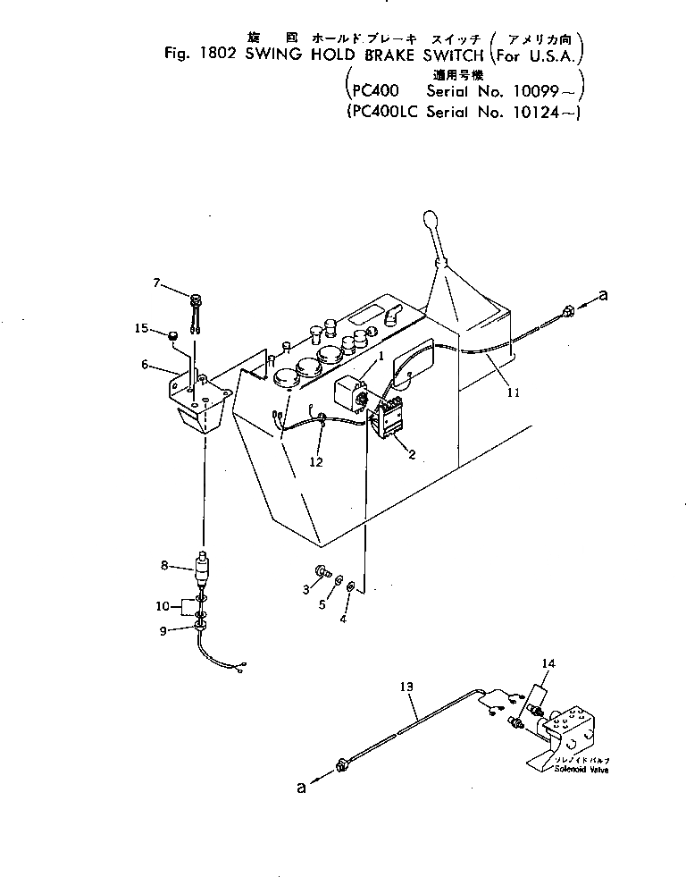
Запчасти Komatsu PC400LC-1 ПОВОРОТН. HOLD ТОРМОЗ. ПЕРЕКЛЮЧАТЕЛЬ (ДЛЯ США) ОПЦИОННЫЕ КОМПОНЕНТЫ (СПЕЦ. APPLICATION ЧАСТИ)

Схема запчастей Komatsu PC400LC-1 - ПОВОРОТН. HOLD ТОРМОЗ. ПЕРЕКЛЮЧАТЕЛЬ (ДЛЯ США) ОПЦИОННЫЕ КОМПОНЕНТЫ (СПЕЦ. APPLICATION ЧАСТИ)
FIT
1:1
100%

Артикул

Название

Примечание

Количество

1

205-06-64520

RELAY

2

205-06-64530

SOCKET

3

01220-40425

SCREW

4

01641-20405

WASHER

5

01601-20410

WASHER

6

208-06-12250

COVER

7

205-06-64540

LAMP

7

08111-02430

BULB, 3W

8

205-06-64510

SWITCH

9

01583-11006

NUT

10

01643-31032

WASHER

11

205-06-64550

WIRING HARNESS

12

08034-00414

BAND

13

207-06-15210

WIRING HARNESS

14

21T-06-12530

CONNECTOR

15

09415-01008

CAP,(WITHOUT WINDOW WASHER)

Выбрано товаров: 16