Запчасти Komatsu PC400LC-1 МЕХАНИЧ. HAND (/) ОПЦИОННЫЕ КОМПОНЕНТЫ (СПЕЦ. APPLICATION ЧАСТИ)

Схема запчастей Komatsu PC400LC-1 - МЕХАНИЧ. HAND (/) ОПЦИОННЫЕ КОМПОНЕНТЫ (СПЕЦ. APPLICATION ЧАСТИ)
FIT
1:1
100%

Артикул

Название

Примечание

Количество

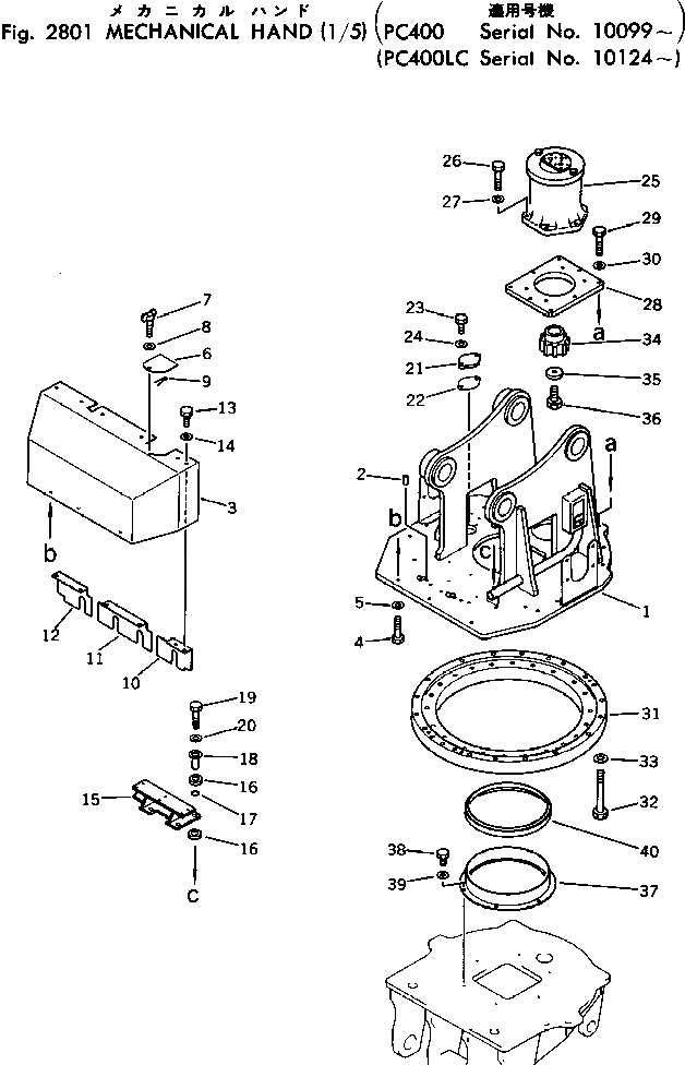
1

208-936-2610

BRACKET

2

04020-01638

PIN

3

208-936-2270

COVER

4

01010-51460

BOLT

5

01643-31445

WASHER

6

208-936-2280

COVER

7

01434-10840

BOLT, WING

8

01643-30823

WASHER

9

04050-12015

PIN,COTTER

10

208-936-2940

COVER

11

208-936-2950

COVER

12

208-936-2960

COVER

13

01010-51230

BOLT

14

01643-31645

WASHER

15

208-936-1820

BRACKET

16

206-62-41430

CUSHION

17

07000-02020

O-RING

18

206-62-41440

COLLAR

19

01010-51050

BOLT

20

01643-31032

WASHER

21

203-46-31131

COVER

22

203-46-31181

GASKET

23

01010-51230

BOLT

24

01643-31232

WASHER

25

208-936-2630

MOTOR ASS'Y

26

01010-51655

BOLT

27

01643-31645

WASHER

28

208-936-2620

BASE

29

01010-51650

BOLT

30

01643-31645

WASHER

31

203-25-21100

CIRCLE

32

01011-51800

BOLT

33

01643-31845

WASHER

34

208-936-2640

GEAR

35

208-936-2650

PLATE

36

01010-51630

BOLT

37

208-936-2930

COVER

38

01010-51020

BOLT

39

01643-31032

WASHER

40

208-936-2970

SEAL

Выбрано товаров: 0