Запчасти Komatsu PC400LC-1 МЕХАНИЧ. HAND (/) ОПЦИОННЫЕ КОМПОНЕНТЫ (СПЕЦ. APPLICATION ЧАСТИ)

Схема запчастей Komatsu PC400LC-1 - МЕХАНИЧ. HAND (/) ОПЦИОННЫЕ КОМПОНЕНТЫ (СПЕЦ. APPLICATION ЧАСТИ)
FIT
1:1
100%

Артикул

Название

Примечание

Количество

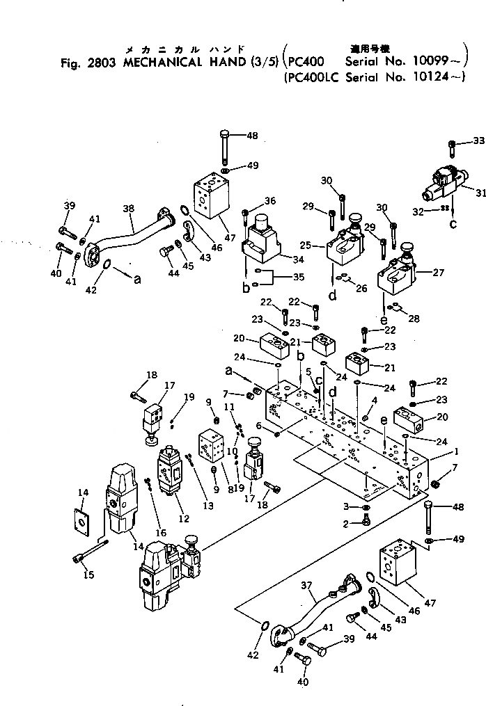
1

208-936-1810

BLOCK

2

01010-51025

BOLT

3

01643-31032

WASHER

4

208-936-2560

PLUG

5

208-936-2570

PLUG

6

208-936-2580

PLUG

7

208-936-2590

PLUG

8

208-936-1890

BLOCK

9

07042-30108

PLUG

10

07000-01009

O-RING

11

23S-60-13520

O-RING

12

208-936-1920

VALVE

13

23S-60-13520

O-RING

14

208-936-1940

VALVE

15

208-936-1950

BOLT

16

23S-60-13520

O-RING

17

208-936-1930

VALVE

18

01252-40545

BOLT

19

208-936-2920

O-RING

20

208-936-3120

BLOCK

21

208-936-3130

BLOCK

22

01252-40850

BOLT

23

01643-50823

WASHER

24

07000-12018

O-RING

25

208-936-1970

VALVE

26

07000-12018

O-RING

27

208-936-1980

VALVE

28

07000-12018

O-RING

29

01252-41270

BOLT

30

01252-41295

BOLT

31

208-936-1960

VALVE

32

208-936-2920

O-RING

33

01252-40522

BOLT

34

208-936-3110

VALVE

35

07000-11009

O-RING

36

01252-40850

BOLT

37

208-936-1830

TUBE

38

208-936-1880

TUBE

39

01010-51060

BOLT

40

01010-51050

BOLT

41

01643-51032

WASHER

42

07000-13035

O-RING

43

07371-31255

FLANGE,SPLIT

44

07372-21035

BOLT

45

01643-51032

WASHER

46

07000-13038

O-RING

47

208-936-1840

BLOCK

48

01011-51040

BOLT

49

01643-51032

WASHER

Выбрано товаров: 49