Запчасти Komatsu PC400LC-1 ЭЛЕКТРИКА (/) (ДЛЯ МЕХАНИЧ. HAND) ОПЦИОННЫЕ КОМПОНЕНТЫ (СПЕЦ. APPLICATION ЧАСТИ)

Схема запчастей Komatsu PC400LC-1 - ЭЛЕКТРИКА (/) (ДЛЯ МЕХАНИЧ. HAND) ОПЦИОННЫЕ КОМПОНЕНТЫ (СПЕЦ. APPLICATION ЧАСТИ)
FIT
1:1
100%

Артикул

Название

Примечание

Количество

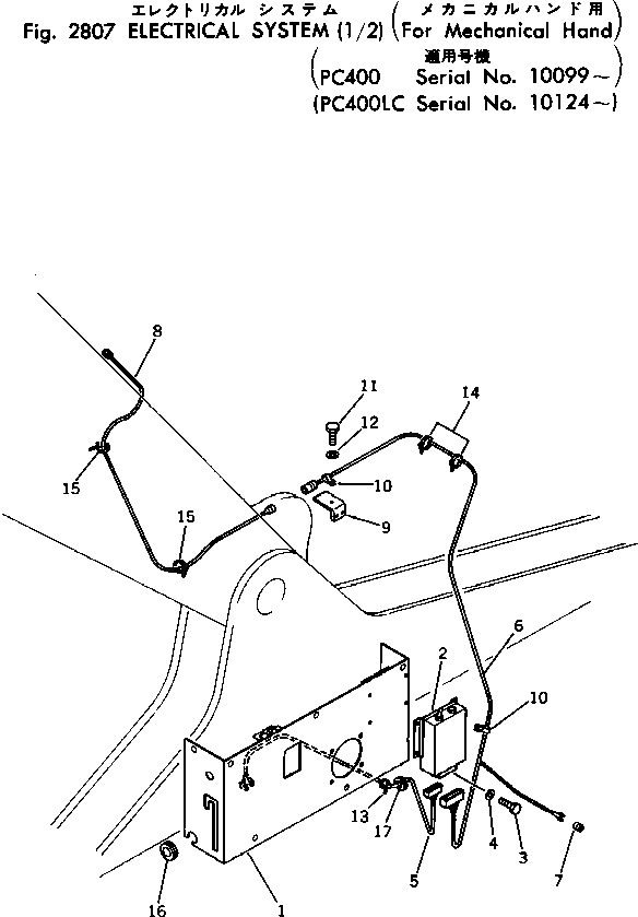
1

208-936-1120

COVER

2

208-936-1110

BOX,RELAY

3

01016-20615

BOLT

4

01641-20608

WASHER

5

208-936-1130

WIRING HARNESS

6

208-936-1140

WIRING HARNESS

7

21T-06-12530

CONNECTOR

8

208-936-1290

WIRING HARNESS

9

208-936-1620

BRACKET

10

08036-03014

CLIP

11

01010-51220

BOLT

12

01643-31232

WASHER

13

08034-00414

BAND

14

08034-00519

BAND

15

08034-00310

BAND

16

08037-03614

GROMMET

17

08037-02512

GROMMET

Выбрано товаров: 17