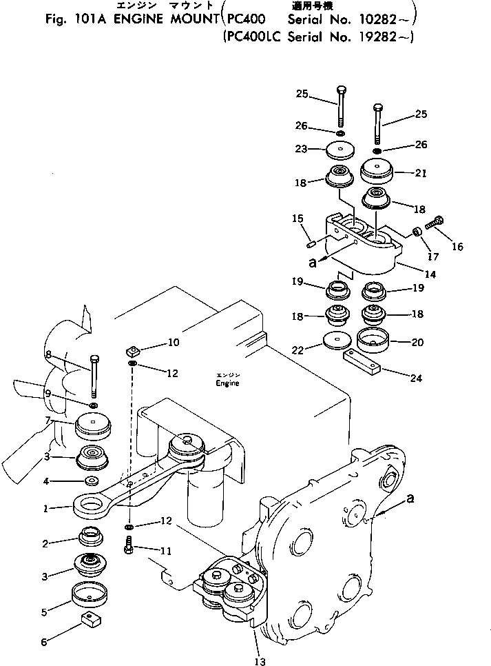
Запчасти Komatsu PC400LC-1 КРЕПЛЕНИЕ ДВИГАТЕЛЯ(№8-) КОМПОНЕНТЫ ДВИГАТЕЛЯ И ЭЛЕКТРИКА

Схема запчастей Komatsu PC400LC-1 - КРЕПЛЕНИЕ ДВИГАТЕЛЯ(№8-) КОМПОНЕНТЫ ДВИГАТЕЛЯ И ЭЛЕКТРИКА
FIT
1:1
100%

Артикул

Название

Примечание

Количество

1

208-01-11233

BRACKET

2

21T-01-11210

COLLAR

3

207-01-11142

CUSHION

4

21T-01-11220

COLLAR

5

207-01-11380

STOPPER

6

208-01-11211

PLATE

7

207-01-11370

STOPPER

8

208-01-11181

BOLT

9

01643-32460

WASHER

10

208-01-11240

PLATE

11

01010-51885

BOLT

12

01643-31845

WASHER

13

208-01-11124

BRACKET

14

208-01-11114

BRACKET

15

04020-01842

PIN,DOWEL

16

01010-52070

BOLT

17

21T-01-11130

WASHER

18

208-01-11192

CUSHION

19

208-01-11221

COLLAR

20

208-01-11141

STOPPER

21

208-01-11131

STOPPER

22

208-01-11161

WASHER

23

208-01-11151

WASHER

24

208-01-11171

PLATE

25

208-01-11181

BOLT

26

01643-32460

WASHER

Выбрано товаров: 26