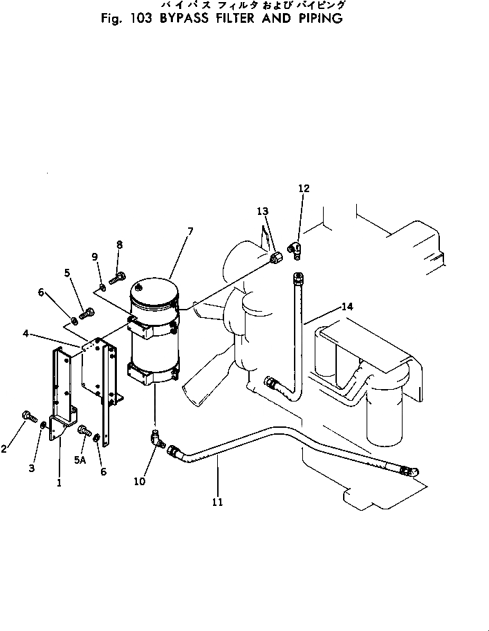
Запчасти Komatsu PC400LC-1 ПРОХОДНОЙ ФИЛЬТР И ТРУБЫ КОМПОНЕНТЫ ДВИГАТЕЛЯ И ЭЛЕКТРИКА

Схема запчастей Komatsu PC400LC-1 - ПРОХОДНОЙ ФИЛЬТР И ТРУБЫ КОМПОНЕНТЫ ДВИГАТЕЛЯ И ЭЛЕКТРИКА
FIT
1:1
100%

Артикул

Название

Примечание

Количество

1

208-01-14140

BRACKET

2

01010-51230

BOLT

3

01643-31232

WASHER

4

208-01-14130

BRACKET

5

01010-51230

BOLT

5A

01010-51225

BOLT

6

01643-31232

WASHER

7

6684-51-5000

BYPASS FILTER A.

8

01010-50820

BOLT

9

01602-20825

WASHER,SPRING

10

6127-51-5930

ELBOW

11

07102-20407

HOSE

12

6127-51-5930

ELBOW

13

6710-51-5170

ADAPTER

14

07102-20404

HOSE

Выбрано товаров: 15