Запчасти Komatsu PC400LC-1 MACHINERY ОБСТАНОВКА (/) ОСНОВНАЯ РАМА И КАБИНА

Схема запчастей Komatsu PC400LC-1 - MACHINERY ОБСТАНОВКА (/) ОСНОВНАЯ РАМА И КАБИНА
FIT
1:1
100%

Артикул

Название

Примечание

Количество

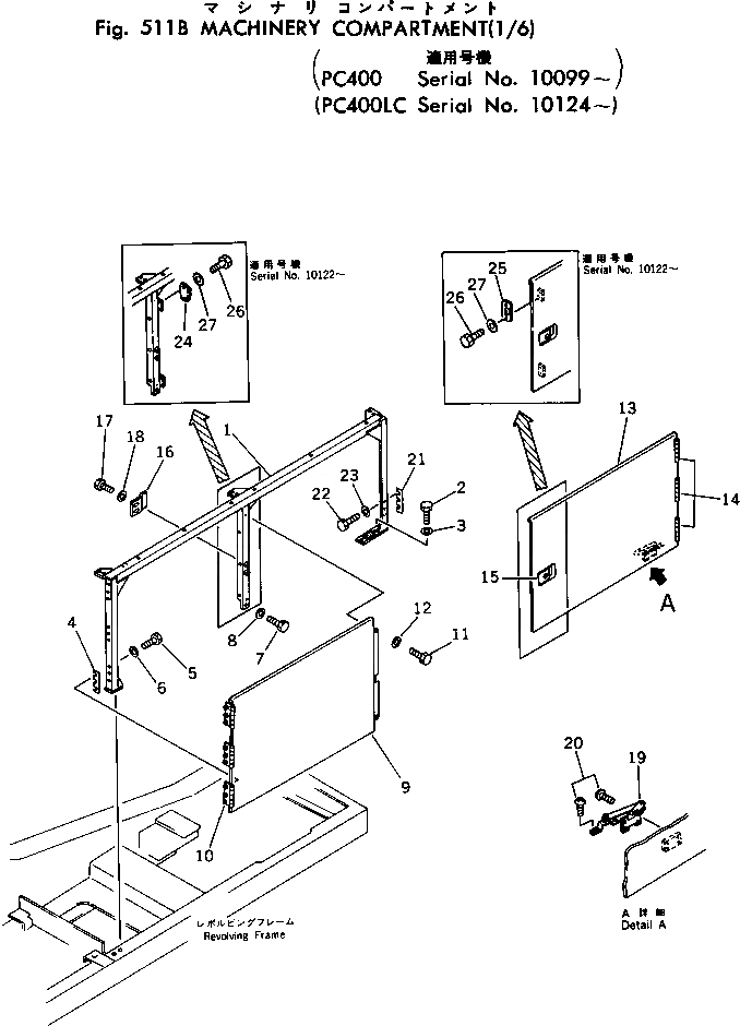
1

208-54-12343

FRAME

2

01010-51230

BOLT

3

01643-31232

WASHER

4

205-54-55390

SHIM, 1.0MM

4

205-54-55390

SHIM, 1.0MM

5

01010-51230

BOLT

5

01010-51230

BOLT

6

01643-31232

WASHER

6

01643-31232

WASHER

7

01010-51230

BOLT

8

01643-31232

WASHER

9

208-54-12312

DOOR

10

205-54-52350

HINGE (WELDED)

11

01010-51230

BOLT

12

01643-31232

WASHER

13

208-54-12322

DOOR

14

205-54-52350

HINGE (WELDED)

15

205-54-63730

LOCK ASS'Y (WELDED)

16

208-54-13490

PLATE

17

01010-51025

BOLT

18

01643-31032

WASHER

19

208-54-12450

STAY

20

01225-40510

SCREW

21

205-54-55390

SHIM, 1.0MM

22

01010-51230

BOLT

23

01643-31232

WASHER

24

205-54-51970

DOVE TAIL

25

205-54-53550

DOVE TAIL

26

01010-50616

BOLT

27

01643-30623

WASHER

Выбрано товаров: 30