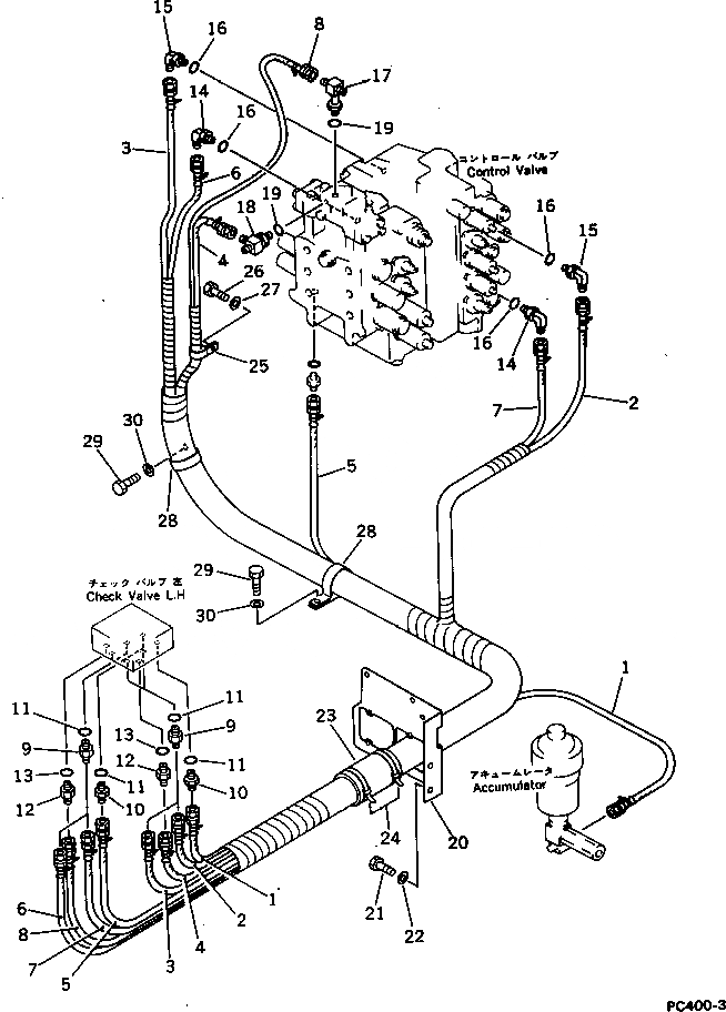
Запчасти Komatsu PC400LC-3 КЛАПАН PPCТРУБЫ(/)(ДЛЯ WRIST УПРАВЛ-Е)(АВТОМ. ЗАМЕДЛЕНИЕ ОБОРОТОВ¤ ПОВОРОТН. МЕХАНИЧ. ТОРМОЗ.)(№-) ПОВОРОТН. И СИСТЕМА УПРАВЛЕНИЯ

Схема запчастей Komatsu PC400LC-3 - КЛАПАН PPCТРУБЫ(/)(ДЛЯ WRIST УПРАВЛ-Е)(АВТОМ. ЗАМЕДЛЕНИЕ ОБОРОТОВ¤ ПОВОРОТН. МЕХАНИЧ. ТОРМОЗ.)(№-) ПОВОРОТН. И СИСТЕМА УПРАВЛЕНИЯ
FIT
1:1
100%

Артикул

Название

Примечание

Количество

|$0

207-62-33611

HOSE ASS'Y

1

07102-20322

HOSE,(RED)

2

07102-20321

HOSE,(YELLOW)

3

07102-20326

HOSE,(WHITE)

4

205-62-71760

HOSE,(BROWN)

5

07102-20321

HOSE,(BLUE)

6

07102-20324

HOSE,(BLACK)

7

07102-20320

HOSE,(GREEN)

8

207-62-33640

HOSE

9

205-62-55270

NIPPLE

10

207-62-33951

NIPPLE

11

07002-01423

O-RING

12

07230-10210

UNION

13

07002-01423

O-RING

14

07235-10315

ELBOW

15

207-62-33941

ELBOW

16

07002-02034

O-RING

17

208-26-11611

TEE

18

208-62-17550

TEE

19

07002-01423

O-RING

20

207-62-33552

BRACKET

21

01010-51230

BOLT

22

01643-31232

WASHER

23

205-62-53780

COVER

24

08034-00876

BAND

25

155-911-1790

CLIP

26

01010-51225

BOLT

27

01643-31232

WASHER

28

21K-03-11190

CLIP

29

01010-51225

BOLT

30

01643-31232

WASHER

Выбрано товаров: 31