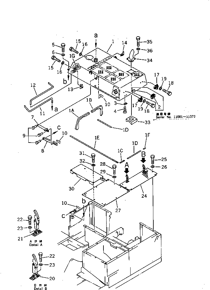
Запчасти Komatsu PC400LC-3 MACHINERY ОБСТАНОВКА (/) (С ЗАЩИТА ОТ ВАНДАЛИЗМА) (¶І¶ЮІ Ці) ОСНОВНАЯ РАМА И КАБИНА

Схема запчастей Komatsu PC400LC-3 - MACHINERY ОБСТАНОВКА (/) (С ЗАЩИТА ОТ ВАНДАЛИЗМА)     (¶І¶ЮІ Ці) ОСНОВНАЯ РАМА И КАБИНА
FIT
1:1
100%

Артикул

Название

Примечание

Количество

1

207-54-31363

HOOD

1

207-54-31362

HOOD

1A

207-54-31431

SHEET

1A

207-54-31430

SHEET

1B

207-54-31421

SHEET

1B

207-54-31420

SHEET

1C

207-54-31490

SHEET

1D

207-54-31460

SHEET

1E

207-54-31450

SHEET

1F

207-54-31520

SHEET

1G

205-54-75362

HINGE,(WELDED)

2

209-54-12280

HANDLE

3

205-54-68440

PLATE

4

01224-40616

SCREW

5

01010-51230

BOLT

6

175-54-34170

WASHER

7

207-54-31540

STAY

8

207-54-31530

STAY

9

04205-11228

PIN

10

04052-01253

PIN,SNAP

11

207-54-31370

SPRING

12

207-54-31380

SPRING

13

207-54-31390

BRACKET

14

207-54-31410

BRACKET

15

01010-51250

BOLT

16

01643-31232

WASHER

17

205-54-67660

SUPPORT

18

01010-50825

BOLT

19

01643-30823

WASHER

20

205-54-76530

CATCHER

21

205-54-76260

CATCHER

22

01010-50825

BOLT

23

01643-30823

WASHER

24

207-54-31211

COVER

25

01010-51230

BOLT

26

01643-31232

WASHER

27

208-54-31250

COVER

28

01010-51230

BOLT

29

01643-31232

WASHER

30

207-54-31271

COVER

31

01010-51230

BOLT

32

175-54-34170

WASHER

33

207-54-31441

SHEET

34

207-01-32111

PIPE,TAIL

34

207-01-32110

PIPE,TAIL

35

01010-51230

BOLT

36

124-54-26540

WASHER

Выбрано товаров: 47