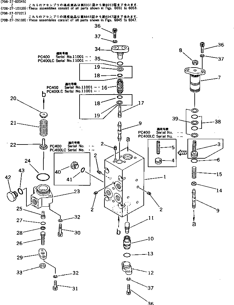
Запчасти Komatsu PC400LC-3 СЕРВОКЛАПАН¤ ЗАДН. (/) (С -STAGE SELECTOR MODE OLSS) УПРАВЛ-Е РАБОЧИМ ОБОРУДОВАНИЕМ

Схема запчастей Komatsu PC400LC-3 - СЕРВОКЛАПАН¤ ЗАДН. (/) (С -STAGE SELECTOR MODE OLSS) УПРАВЛ-Е РАБОЧИМ ОБОРУДОВАНИЕМ
FIT
1:1
100%

Артикул

Название

Примечание

Количество

|$0

708-27-02045

HYDRAULIC PUMP ASS'Y

|$1

708-27-02044

HYDRAULIC PUMP ASS'Y,(HPV 160+160)

|$2

708-27-02043

HYDRAULIC PUMP ASS'Y,(HPV 160+160)

|$3

708-27-02042

HYDRAULIC PUMP ASS'Y,(HPV 160+160)

|$4

708-27-02041

HYDRAULIC PUMP ASS'Y,(HPV 160+160)

|$5

708-27-02040

HYDRAULIC PUMP ASS'Y,(HPV 160+160)

|$6

708-27-10120

PUMP ASS'Y,(HPV 160+160)

|$7

708-27-07221

SERVO VALVE ASS'Y,REAR

|$8

708-27-07220

SERVO VALVE ASS'Y,REAR

|$9

708-27-26100

SERVO VALVE ASS'Y,REAR

|$10

708-27-07611

VALVE ASS'Y,CO AND NC

|$11

708-27-07610

VALVE ASS'Y,CO AND NC

|$12

708-27-17200

VALVE ASS'Y,CO AND NC

|$13

708-27-17100

VALVE ASS'Y,CO AND NC

|$14

708-23-07032

BODY ASS'Y

|$15

4708-23-07031

BODY ASS'Y

|$16

4708-23-07030

BODY ASS'Y

|$17

4708-23-07040

BODY ASS'Y

1

BODY

1

BODY

1

BODY

1

BODY

2

PLUG

2

PLUG

2

EXPANDER

2

PLUG

3

708-25-17122

PLUG

4

708-25-17420

PLUG

5

708-25-17430

SCREW

6

07000-02010

O-RING

7

708-25-17131

COVER

8

01580-10806

NUT

9

708-25-17141

SPOOL

9

708-25-17140

SPOOL

10

708-25-17150

SLEEVE

11

708-25-17160

PISTON

12

708-25-17170

COVER

13

07000-02014

O-RING

14

708-25-17180

SEAT

15

708-25-17190

SPRING

16

708-25-17211

SLEEVE

16

4708-25-17210

SLEEVE

17

708-25-17220

PISTON

18

07000-12012

O-RING

19

07001-02012

RING,BACK-UP

20

708-25-17370

SEAT

20

708-25-17240

SEAT

21

708-25-17250

SPRING

22

708-25-17260

SEAT

23

708-25-17280

COVER

24

07000-03028

O-RING

25

708-25-17270

PISTON

26

708-25-17290

PLUG

27

07000-11009

O-RING

28

07001-01009

RING,BACK-UP

29

708-25-17310

COVER

30

706-75-40310

BOLT

30

01252-30630

BOLT

31

708-25-15320

BOLT

31

01252-30616

BOLT

32

01602-20619

WASHER,SPRING

33

01580-10806

NUT

34

708-25-17230

COVER

35

07000-02012

O-RING

36

708-25-15320

BOLT

36

01252-30616

BOLT

37

01602-20619

WASHER,SPRING

38

07000-12021

O-RING

38

07000-12021

O-RING

39

07001-02021

RING,BACK-UP

39

07001-02021

RING,BACK-UP

40

07040-11007

PLUG

41

07002-01023

O-RING

42

07040-11409

PLUG

43

07002-01423

O-RING

Выбрано товаров: 75