Запчасти Komatsu PC400LC-3 ГИДРОЛИНИЯ (ВОЗВРАТ.) (/) УПРАВЛ-Е РАБОЧИМ ОБОРУДОВАНИЕМ

Схема запчастей Komatsu PC400LC-3 - ГИДРОЛИНИЯ (ВОЗВРАТ.) (/) УПРАВЛ-Е РАБОЧИМ ОБОРУДОВАНИЕМ
FIT
1:1
100%

Артикул

Название

Примечание

Количество

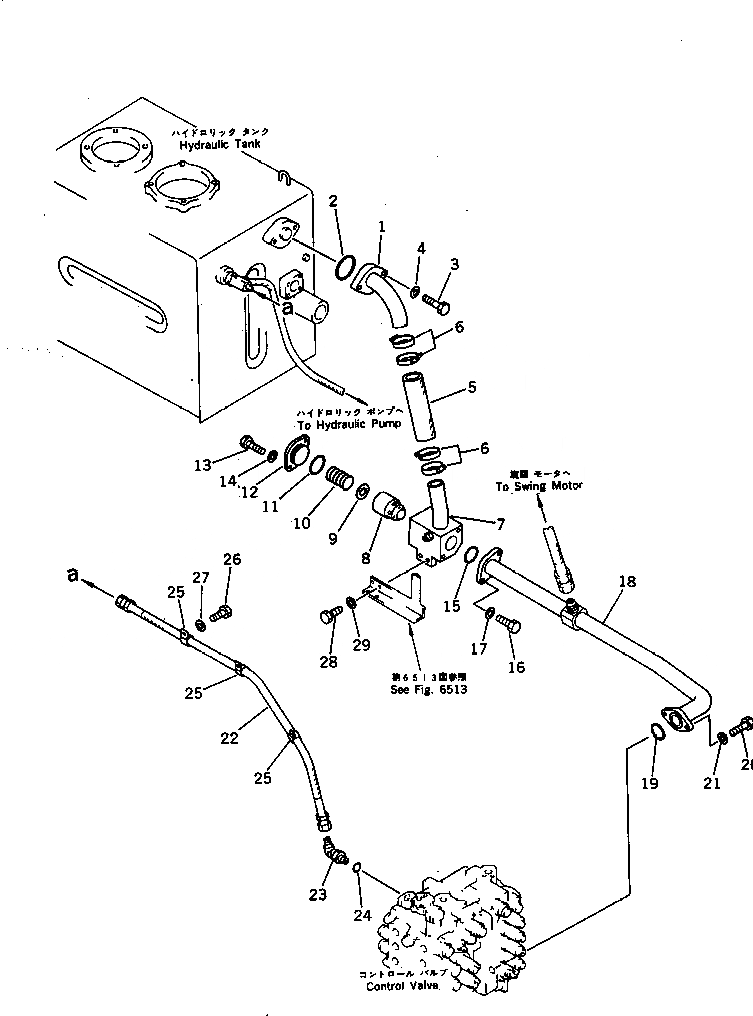
1

207-62-31480

TUBE

2

07000-02075

O-RING

3

01010-51245

BOLT

4

01643-31232

WASHER

5

207-62-31490

HOSE

6

208-09-11120

CLAMP

|$6

207-60-31301

VALVE ASS'Y

|$7

207-60-31300

VALVE ASS'Y

7

207-62-31421

TUBE

8

207-60-31250

POPPET

9

01640-22540

WASHER

10

209-60-52320

SPRING

10

130-60-12162

SPRING

11

07000-02060

O-RING

12

207-62-31590

FLANGE

13

01010-51230

BOLT

14

01643-31232

WASHER

15

07000-02055

O-RING

16

01010-51235

BOLT

17

01643-31232

WASHER

18

207-62-31411

TUBE

19

07000-03045

O-RING

20

01010-51240

BOLT

21

01643-31232

WASHER

22

07102-20511

HOSE

23

207-62-31810

ELBOW

23

07236-10522

ELBOW

24

07002-02434

O-RING

25

08036-23014

CLIP

26

01010-51225

BOLT

27

01643-31232

WASHER

28

01010-51230

BOLT

29

01643-31232

WASHER

Выбрано товаров: 33