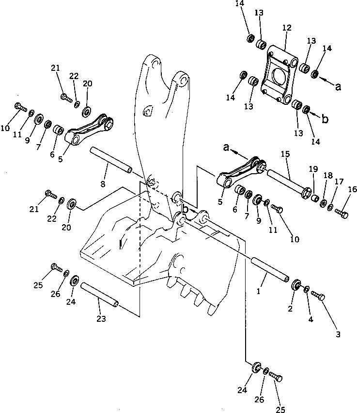
Запчасти Komatsu PC400LC-3 СОЕДИНИТЕЛЬН. ЗВЕНО (ДЛЯ ПОГРУЗ.) РАБОЧЕЕ ОБОРУДОВАНИЕ

Схема запчастей Komatsu PC400LC-3 - СОЕДИНИТЕЛЬН. ЗВЕНО (ДЛЯ ПОГРУЗ.) РАБОЧЕЕ ОБОРУДОВАНИЕ
FIT
1:1
100%

Артикул

Название

Примечание

Количество

1

208-72-23130

PIN

2

208-72-33130

HOLDER

3

01010-51235

BOLT

4

01643-31232

WASHER

5

208-72-33110

LINK

6

208-72-13130

BUSHING

7

208-72-13150

SEAL,DUST

8

208-72-23140

PIN

9

208-72-33130

HOLDER

10

01010-51235

BOLT

11

01643-31232

WASHER

12

208-72-33121

LINK

12

208-72-33120

LINK

13

208-72-13130

BUSHING

14

208-72-13150

SEAL,DUST

15

208-72-33150

PIN

16

01010-51240

BOLT

17

01643-31232

WASHER

18

175-03-32560

SPACER

19

175-79-33240

SPACER

20

208-72-33130

HOLDER

21

01010-51235

BOLT

22

01643-31232

WASHER

23

208-72-23130

PIN

24

208-72-33130

HOLDER

25

01010-51235

BOLT

26

01643-31232

WASHER

Выбрано товаров: 27