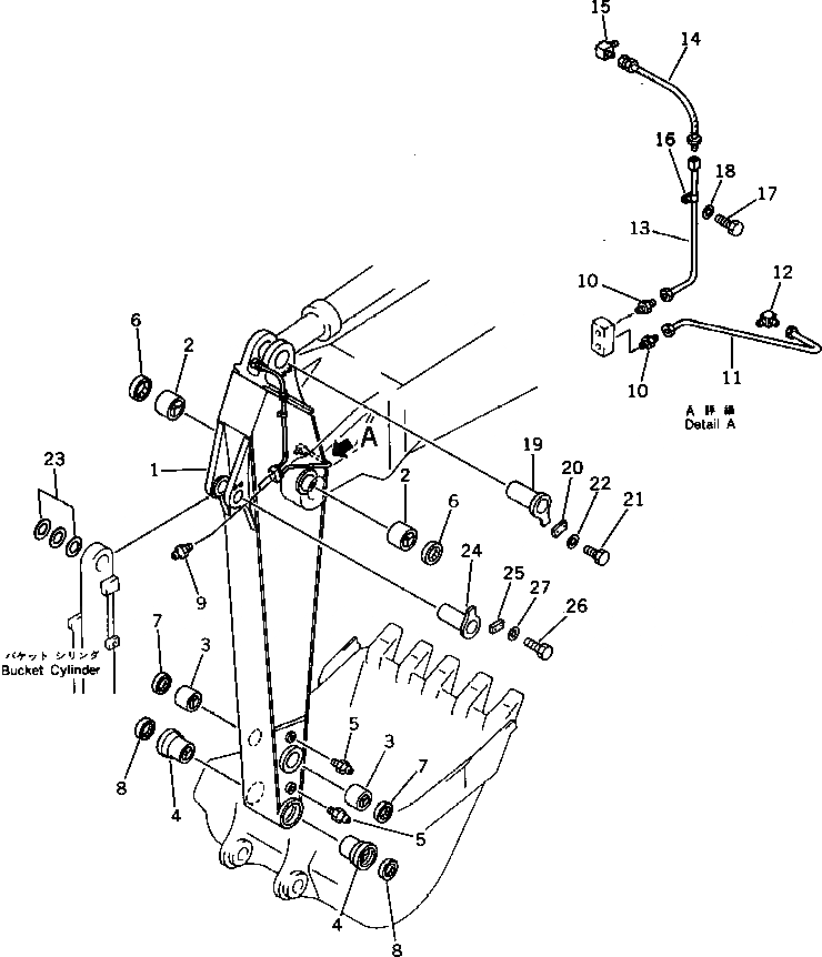
Запчасти Komatsu PC400LC-3 КОРОТК. РУКОЯТЬ¤ 9MM (ДЛЯ ЭКСКАВАТ.) РАБОЧЕЕ ОБОРУДОВАНИЕ

Схема запчастей Komatsu PC400LC-3 - КОРОТК. РУКОЯТЬ¤ 9MM (ДЛЯ ЭКСКАВАТ.) РАБОЧЕЕ ОБОРУДОВАНИЕ
FIT
1:1
100%

Артикул

Название

Примечание

Количество

|$0

208-944-0020

SHORT ARM ASS'Y

1

ARM

2

208-70-11241

BUSHING

3

208-70-13141

BUSHING

4

208-70-32140

BUSHING

5

07020-00000

FITTING,GREASE

6

07145-00120

SEAL,DUST

7

208-70-12231

SEAL,DUST

8

205-70-62160

SEAL,DUST

9

07020-00000

FITTING,GREASE

10

07213-51013

CONNECTOR

11

208-944-3140

TUBE

12

209-72-16140

ELBOW

13

208-944-3150

TUBE

14

205-70-51360

HOSE, 540MM

15

205-70-51380

ELBOW

16

176-43-54580

CLIP

17

01010-51016

BOLT

18

01643-31032

WASHER

19

208-70-31190

PIN

20

205-70-66580

PLATE

21

01010-51235

BOLT

22

01643-31232

WASHER

23

207-70-11340

SPACER, 0.8MM

24

207-70-31190

PIN

25

205-70-66580

PLATE

26

01010-51235

BOLT

27

01643-31232

WASHER

Выбрано товаров: 28