Запчасти Komatsu PC400LC-3 MACHINERY ОБСТАНОВКА (/) (СПЕЦ-Я TBG) СПЕЦ. APPLICATION ЧАСТИ¤ МАРКИРОВКА¤ ИНСТРУМЕНТ И РЕМКОМПЛЕКТЫ

Схема запчастей Komatsu PC400LC-3 - MACHINERY ОБСТАНОВКА (/) (СПЕЦ-Я TBG) СПЕЦ. APPLICATION ЧАСТИ¤ МАРКИРОВКА¤ ИНСТРУМЕНТ И РЕМКОМПЛЕКТЫ
FIT
1:1
100%

Артикул

Название

Примечание

Количество

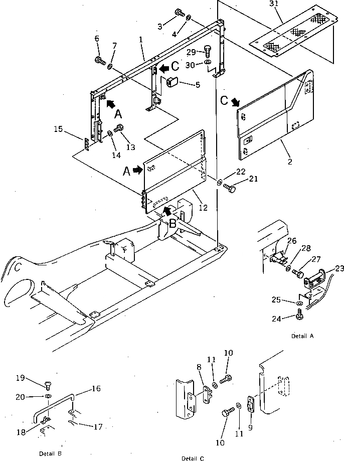
1

207-54-31131

FRAME

2

208-54-31911

DOOR

3

01010-51225

BOLT

4

01643-31232

WASHER

5

207-54-31890

BRACKET

6

01010-51025

BOLT

7

01643-31032

WASHER

8

205-54-51970

DOVE TAIL

9

205-54-53550

DOVE TAIL

10

01010-50616

BOLT

11

01643-30623

WASHER

12

208-54-31120

DOOR

13

01010-51225

BOLT

14

01643-31232

WASHER

15

205-54-55390

SHIM, 1.0MM

16

205-54-64140

BAR

17

04050-13018

PIN,COTTER

18

20B-54-12210

SPRING

19

01220-40406

SCREW

20

01641-20405

WASHER

21

01010-51225

BOLT

22

01643-31232

WASHER

23

207-54-31870

BRACKET

24

01010-51020

BOLT

25

01643-31032

WASHER

26

22D-62-14560

CLAMP

27

01010-51020

BOLT

28

01643-31032

WASHER

29

01010-51225

BOLT

30

01643-31232

WASHER

31

207-54-31940

COVER

Выбрано товаров: 0