Запчасти Komatsu PC400LC-3 УСИЛ. КОВШ¤ .M ШИР. MM С КРЮК (ДЛЯ США) СПЕЦ. APPLICATION ЧАСТИ¤ МАРКИРОВКА¤ ИНСТРУМЕНТ И РЕМКОМПЛЕКТЫ

Схема запчастей Komatsu PC400LC-3 - УСИЛ. КОВШ¤ .M ШИР. MM С КРЮК (ДЛЯ США) СПЕЦ. APPLICATION ЧАСТИ¤ МАРКИРОВКА¤ ИНСТРУМЕНТ И РЕМКОМПЛЕКТЫ
FIT
1:1
100%

Артикул

Название

Примечание

Количество

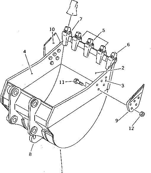
1

208-913-1310

BUCKET

2

208-913-1320

PLATE (WELDED)

3

208-913-1130

PLATE,L.H. (WELDED)

4

208-913-1140

PLATE,R.H. (WELDED)

5

208-913-1150

ADAPTER (WELDED)

6

208-913-1160

ADAPTER,L.H. (WELDED)

7

208-913-1170

ADAPTER,R.H. (WELDED)

8

208-913-1180

HOOK (WELDED)

9

208-913-1330

CUTTER,L.H.

10

208-913-1340

CUTTER,R.H.

11

198-32-14210

BOLT, SHOE

12

198-32-11221

NUT, SHOE

Выбрано товаров: 12