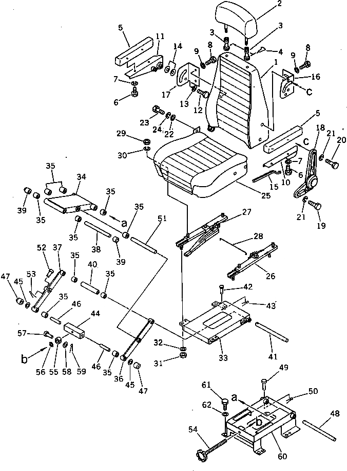
Запчасти Komatsu PC400LC-3 СИДЕНЬЕ ОПЕРАТОРА (ДЛЯ УДЛИНН. РЫЧАГ УПРАВЛ-Е) ОСНОВНАЯ РАМА И КАБИНА

Схема запчастей Komatsu PC400LC-3 - СИДЕНЬЕ ОПЕРАТОРА (ДЛЯ УДЛИНН. РЫЧАГ УПРАВЛ-Е) ОСНОВНАЯ РАМА И КАБИНА
FIT
1:1
100%

Артикул

Название

Примечание

Количество

|1

205-57-00062

OPERATOR'S SEAT A.

|1

205-57-00072

SEAT ASS'Y

1

205-57-72321

CUSHION,BACK

2

205-57-72411

REST,HEAD

3

HOLDER

4

SPRING

5

205-57-72341

REST,ARM

6

01010-50835

BOLT

7

01602-20825

WASHER,SPRING

8

01010-51020

BOLT

9

01602-21030

WASHER,SPRING

10

205-57-72441

SUPPORT,L.H.

11

205-57-72451

SUPPORT,R.H.

12

01010-51220

BOLT

13

01643-31232

WASHER

14

175-54-27350

SPRING

15

205-57-72590

SEAL

16

205-57-72361

BRACKET,L.H.

17

205-57-72371

BRACKET,R.H.

18

205-57-63510

LEVER

19

01010-51020

BOLT

20

01010-51050

BOLT

21

01602-21030

WASHER,SPRING

22

203-57-21330

SPACER

23

01010-51020

BOLT

24

01602-21030

WASHER,SPRING

|25

205-57-00023

CUSHION ASS'Y

25

CUSHION

26

ADJUSTER

27

ADJUSTER

28

205-57-63540

BAR

29

NUT

30

WASHER,SPRING

31

01580-01210

NUT

32

01643-31232

WASHER

|33

205-57-00031

STAND ASS'Y

33

205-57-72550

BRACKET

34

205-57-72520

LINK

35

203-57-21280

BUSHING

36

205-57-72530

LINK

37

205-57-72540

LINK

38

205-57-63190

PIN

39

203-57-21310

ROLLER

40

205-57-72560

COLLAR

41

205-57-63180

PIN

42

207-57-11240

PIN

43

04050-11610

PIN,COTTER

44

205-57-72570

BAR

45

203-57-21320

SHIM¤ 0.5MM

46

207-57-11220

PIN

47

203-57-21310

ROLLER

48

205-57-63160

PIN

49

207-57-11240

PIN

50

04050-11610

PIN,COTTER

51

205-57-63170

PIN

52

207-57-11240

PIN

53

04050-11610

PIN,COTTER

54

205-57-63230

KNOB

55

205-57-72580

NUT

56

01643-31445

WASHER

57

205-57-63250

PIN

58

01641-20608

WASHER

59

04050-11610

PIN,COTTER

60

205-57-72510

BRACKET

61

01010-51230

BOLT

62

01643-31232

WASHER

Выбрано товаров: 66