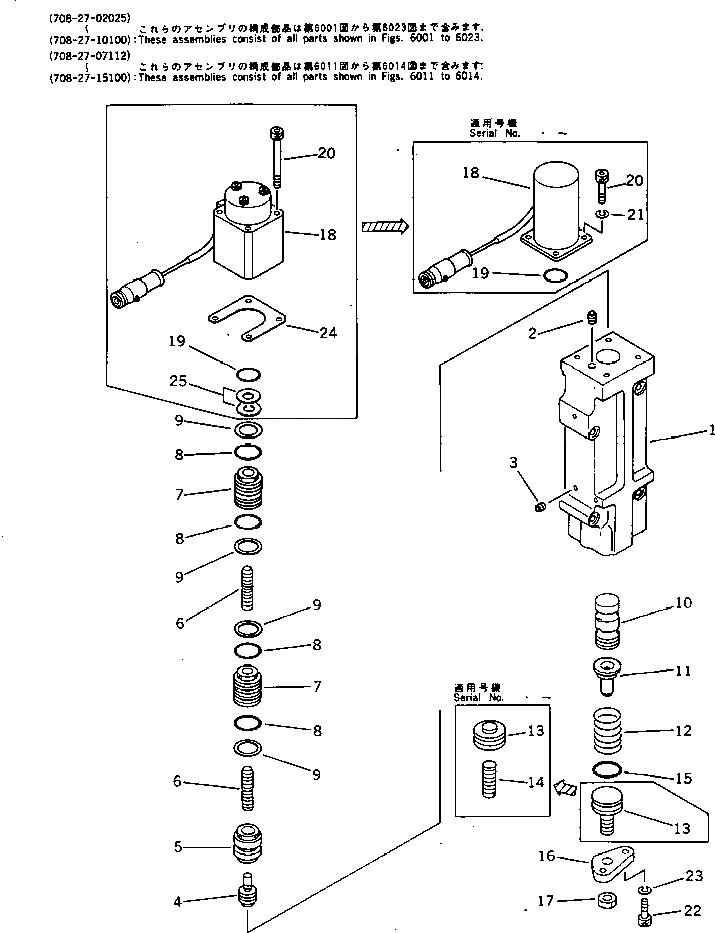
Запчасти Komatsu PC400LC-3 СЕРВОКЛАПАН¤ ПЕРЕДН. (/) (С -STAGE SELECTOR MODE OLSS) УПРАВЛ-Е РАБОЧИМ ОБОРУДОВАНИЕМ

Схема запчастей Komatsu PC400LC-3 - СЕРВОКЛАПАН¤ ПЕРЕДН. (/) (С -STAGE SELECTOR MODE OLSS) УПРАВЛ-Е РАБОЧИМ ОБОРУДОВАНИЕМ
FIT
1:1
100%

Артикул

Название

Примечание

Количество

|1

708-27-02025

HYDRAULIC PUMP ASS'Y

|1

708-27-02024

HYDRAULIC PUMP ASS'Y,(HPV 160+160)

|1

708-27-02023

HYDRAULIC PUMP ASS'Y,(HPV 160+160)

|1

708-27-02022

HYDRAULIC PUMP ASS'Y,(HPV 160+160)

|1

708-27-02021

HYDRAULIC PUMP ASS'Y,(HPV 160+160)

|1

708-27-02020

HYDRAULIC PUMP ASS'Y,(HPV 160+160)

|1

708-27-01010

HYDRAULIC PUMP ASS'Y,(HPV 160+160)

|1

708-27-10100

PUMP ASS'Y,(HPV 160+160)

|1

708-27-07112

SERVO VALVE ASS'Y,FRONT

|1

708-27-07111

SERVO VALVE ASS'Y,FRONT

|1

708-27-07110

SERVO VALVE ASS'Y,FRONT

|1

708-27-15100

SERVO VALVE ASS'Y,FRONT

|1

708-27-07710

VALVE ASS'Y

|1

708-27-18100

VALVE ASS'Y

1

708-23-07090

BODY ASS'Y

|1

708-23-07051

BODY ASS'Y

|1

BODY ASS'Y

|1

BODY

|1

BODY

|1

BODY

2

PLUG

3

EXPANDER

|3

PLUG

4

708-23-18120

PISTON

5

708-23-18130

SLEEVE

6

708-25-18120

PISTON

|6

708-23-18140

PISTON

7

708-23-18150

SLEEVE

8

07000-12016

O-RING

9

07001-02016

RING,BACK-UP

10

708-23-18161

SPOOL

11

708-23-18170

SEAT

12

708-23-18181

SPRING

13

708-23-15160

PLUG

|13

708-23-15140

PLUG

14

708-25-15340

SCREW

15

07000-02018

O-RING

16

708-23-18210

COVER

17

01580-10806

NUT

18

708-23-18221

SOLENOID ASS'Y

|18

708-23-18220

SOLENOID ASS'Y

19

07000-02016

O-RING

20

708-25-18250

BOLT

|20

720-68-19750

BOLT

21

01602-20614

WASHER,SPRING

22

708-25-15320

BOLT

|22

01252-30616

BOLT

23

01602-20619

WASHER,SPRING

24

708-25-18571

SHIM¤ 0.50MM

|24

708-25-18570

SHIM¤ 0.50MM

25

708-25-18580

SHIM¤ 0.50MM

Выбрано товаров: 51