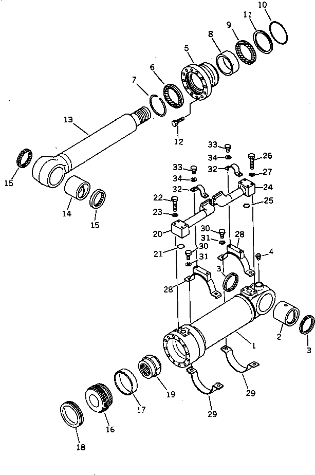
Запчасти Komatsu PC400LC-3 НИЖН. ГИДРОЦИЛИНДР КОВША (ДЛЯ НИЖН. ПОГРУЗ.) УПРАВЛ-Е РАБОЧИМ ОБОРУДОВАНИЕМ

Схема запчастей Komatsu PC400LC-3 - НИЖН. ГИДРОЦИЛИНДР КОВША (ДЛЯ НИЖН. ПОГРУЗ.) УПРАВЛ-Е РАБОЧИМ ОБОРУДОВАНИЕМ
FIT
1:1
100%

Артикул

Название

Примечание

Количество

|1

208-63-94100

CYLINDER ASS'Y,BOTTOM DUMP¤ L.H.

|1

208-63-94200

CYLINDER ASS'Y,BOTTOM DUMP¤ R.H.

1

208-63-94140

CYLINDER

2

707-76-80010

BUSHING

3

07145-00080

SEAL,DUST

4

07020-00000

FITTING,GREASE

5

707-27-13870

HEAD,CYLINDER

6

707-56-95510

SEAL,DUST

7

707-75-10030

RING,SNAP

8

707-52-10950

BUSHING

9

707-51-95211

PACKING,ROD

10

07000-12125

O-RING

11

07146-02126

RING,BACK-UP

12

01010-51655

BOLT

13

208-63-94120

ROD,PISTON

14

205-63-65271

BUSHING

15

07145-00080

SEAL,DUST

16

707-36-13461

PISTON

17

07155-01330

RING,WEAR

18

707-44-13080

RING,PISTON

19

707-68-10680

NUT

20

208-72-36460

TUBE,L.H.

|20

208-72-36470

TUBE,R.H.

21

07000-13030

O-RING

22

01010-50865

BOLT

23

01602-20825

WASHER,SPRING

24

208-72-36480

TUBE,L.H.

|24

208-72-36490

TUBE,R.H.

25

07000-13035

O-RING

26

01010-51070

BOLT

27

01602-21030

WASHER,SPRING

28

707-88-97690

BAND

29

707-88-99320

BAND

30

01010-51035

BOLT

31

01602-21030

WASHER,SPRING

32

07282-03411

CLAMP

33

01010-51020

BOLT

34

01602-21030

WASHER,SPRING

Выбрано товаров: 38