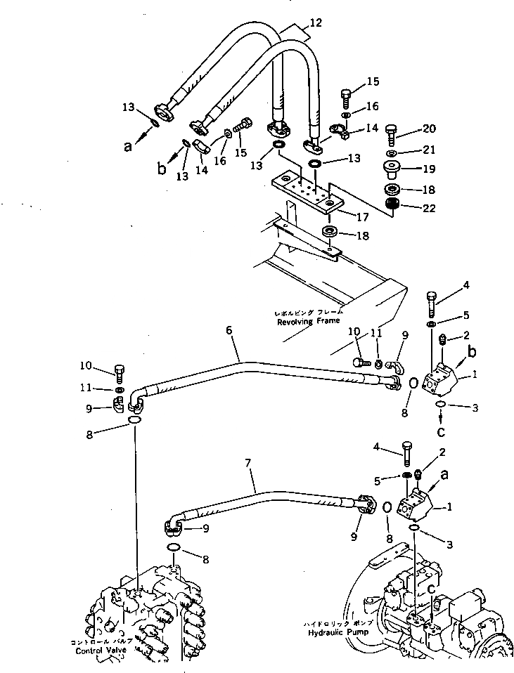
Запчасти Komatsu PC400LC-3 ГИДРОЛИНИЯ (НАСОС - УПРАВЛЯЮЩ. КЛАПАН) УПРАВЛ-Е РАБОЧИМ ОБОРУДОВАНИЕМ

Схема запчастей Komatsu PC400LC-3 - ГИДРОЛИНИЯ (НАСОС - УПРАВЛЯЮЩ. КЛАПАН) УПРАВЛ-Е РАБОЧИМ ОБОРУДОВАНИЕМ
FIT
1:1
100%

Артикул

Название

Примечание

Количество

1

208-62-31181

TEE

|1

208-62-31180

TEE

2

07042-30108

PLUG

3

21T-09-11470

O-RING

4

01011-51010

BOLT

5

01643-31032

WASHER

|5

01643-51032

WASHER

6

207-62-31110

HOSE

7

207-62-31120

HOSE

8

21T-09-11460

O-RING

9

07371-31049

FLANGE,SPLIT

10

07372-21035

BOLT

11

01643-51032

WASHER

12

208-62-31270

HOSE

|12

07099-01209

HOSE

13

21T-09-11480

O-RING

14

07371-51260

FLANGE,SPLIT

15

01010-51245

BOLT

16

01643-31232

WASHER

17

208-62-31221

PLATE

18

208-62-31230

CUSHION

19

208-62-31191

COLLAR

20

01010-51685

BOLT

21

01643-31645

WASHER

22

208-62-31240

CUSHION

Выбрано товаров: 25