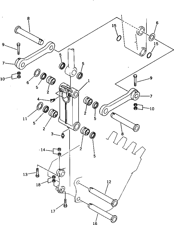
Запчасти Komatsu PC400LC-3 СОЕДИНИТЕЛЬН. ЗВЕНО (ДЛЯ ЭКСКАВАТ.) РАБОЧЕЕ ОБОРУДОВАНИЕ

Схема запчастей Komatsu PC400LC-3 - СОЕДИНИТЕЛЬН. ЗВЕНО (ДЛЯ ЭКСКАВАТ.) РАБОЧЕЕ ОБОРУДОВАНИЕ
FIT
1:1
100%

Артикул

Название

Примечание

Количество

1

208-70-33111

LINK

2

208-70-13141

BUSHING

3

07020-00000

FITTING,GREASE

4

07020-00900

FITTING,GREASE

5

208-70-12231

SEAL,DUST

6

207-70-11340

SPACER¤ 0.8MM

7

208-70-33120

LINK

8

208-70-33140

PIN

9

207-70-13340

BOLT

10

01580-12419

NUT

11

207-70-11340

SPACER¤ 0.8MM

12

208-70-33130

PIN

13

207-70-13340

BOLT

14

01580-12419

NUT

15

208-70-33180

O-RING

16

208-70-33130

PIN

17

207-70-13340

BOLT

18

01580-12419

NUT

Выбрано товаров: 18