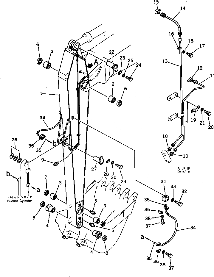
Запчасти Komatsu PC400LC-3 УДЛИНН. РУКОЯТЬ¤ 8MM (ДЛЯ ЭКСКАВАТ.) РАБОЧЕЕ ОБОРУДОВАНИЕ

Схема запчастей Komatsu PC400LC-3 - УДЛИНН. РУКОЯТЬ¤ 8MM (ДЛЯ ЭКСКАВАТ.) РАБОЧЕЕ ОБОРУДОВАНИЕ
FIT
1:1
100%

Артикул

Название

Примечание

Количество

|1

208-943-0021

LONG ARM ASS'Y

|1

208-943-0020

LONG ARM ASS'Y

1

ARM

|1

ARM

2

208-70-11241

BUSHING

3

208-70-13141

BUSHING

4

208-70-32140

BUSHING

5

07020-00000

FITTING,GREASE

6

07145-00120

SEAL,DUST

7

208-70-12231

SEAL,DUST

8

205-70-62160

SEAL,DUST

9

07020-00000

FITTING,GREASE

10

07213-51013

CONNECTOR

11

208-943-3140

TUBE

12

209-72-16140

ELBOW

13

208-943-3150

TUBE

14

205-70-51360

HOSE¤ 540MM

15

205-70-51380

ELBOW

16

176-43-54580

CLIP

17

01010-51016

BOLT

18

01643-31032

WASHER

19

208-70-11450

CLIP

20

01010-50612

BOLT

21

01643-30623

WASHER

22

208-70-31190

PIN

23

205-70-66580

PLATE

24

01010-51235

BOLT

25

01643-31232

WASHER

26

207-70-11340

SPACER¤ 0.8MM

27

207-70-31190

PIN

28

205-70-66580

PLATE

29

01010-51235

BOLT

30

01643-31232

WASHER

31

208-943-3130

FLANGE

32

01010-51290

BOLT

33

01643-31232

WASHER

34

07098-21018

HOSE

35

07000-13032

O-RING

36

07371-31049

FLANGE,SPLIT

37

07372-21035

BOLT

38

01643-51032

WASHER

Выбрано товаров: 41