Запчасти Komatsu PC400LC-3 DELUXE СИДЕНЬЕ И РЕМЕНЬ БЕЗОПАСНОСТИ (/) ОПЦИОННЫЕ КОМПОНЕНТЫ

Схема запчастей Komatsu PC400LC-3 - DELUXE СИДЕНЬЕ И РЕМЕНЬ БЕЗОПАСНОСТИ (/) ОПЦИОННЫЕ КОМПОНЕНТЫ
FIT
1:1
100%

Артикул

Название

Примечание

Количество

|1

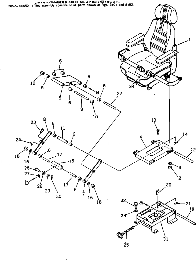
205-57-00052

DELUXE SEAT ASS'Y

1

205-57-71500

SEAT ASS'Y

2

01580-10806

NUT

3

207-57-11260

WASHER

|4

205-57-00031

STAND ASS'Y

4

205-57-72550

BRACKET

5

205-57-72520

LINK

6

203-57-21280

BUSHING

7

205-57-72530

LINK

8

205-57-72540

LINK

9

205-57-63190

PIN

10

203-57-21310

ROLLER

11

205-57-72560

COLLAR

12

205-57-63180

PIN

13

205-57-11240

PIN

14

04050-11610

PIN,COTTER

15

205-57-72570

BAR

16

203-57-21320

SHIM¤ 0.5MM

17

207-57-11220

PIN

18

203-57-21310

ROLLER

19

205-57-63160

PIN

20

207-57-11240

PIN

21

04050-11610

PIN,COTTER

22

205-57-63170

PIN

23

207-57-11240

PIN

24

04050-11610

PIN,COTTER

25

205-57-63230

KNOB

26

205-57-72580

NUT

27

01643-31445

WASHER

28

205-57-63250

PIN

29

01641-20608

WASHER

30

04050-11610

PIN,COTTER

31

205-57-72510

BRACKET

32

01010-51230

BOLT

33

01643-31232

WASHER

34

205-57-62140

BELT,SEAT

Выбрано товаров: 36