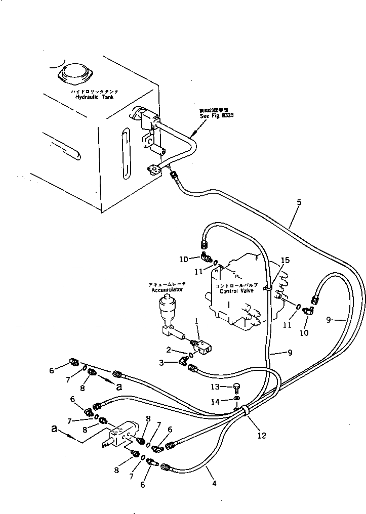
Запчасти Komatsu PC400LC-3 ДОПОЛН. ГИДРОЛИНИЯ (ГЛАВН.) ОПЦИОННЫЕ КОМПОНЕНТЫ

Схема запчастей Komatsu PC400LC-3 - ДОПОЛН. ГИДРОЛИНИЯ (ГЛАВН.) ОПЦИОННЫЕ КОМПОНЕНТЫ
FIT
1:1
100%

Артикул

Название

Примечание

Количество

1

205-970-7480

TEE

2

07002-01423

O-RING

3

07235-10210

ELBOW

4

07102-20218

HOSE

5

07103-50227

HOSE

6

07235-10210

ELBOW

7

07002-01423

O-RING

8

205-970-6050

ADAPTER

9

07102-20222

HOSE

10

20N-63-66190

ELBOW

11

07002-02034

O-RING

12

21T-06-11940

CLIP

13

01010-51225

BOLT

14

01643-31232

WASHER

15

08034-00823

BAND

Выбрано товаров: 15