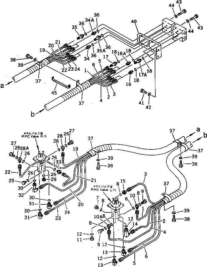
Запчасти Komatsu PC400LC-3 P.P.C. КЛАПАН ТРУБЫ (/) (ДЛЯ УДЛИНН. РЫЧАГ УПРАВЛ-Е)(№-) ПОВОРОТН. И СИСТЕМА УПРАВЛЕНИЯ

Схема запчастей Komatsu PC400LC-3 - P.P.C. КЛАПАН ТРУБЫ (/) (ДЛЯ УДЛИНН. РЫЧАГ УПРАВЛ-Е)(№-) ПОВОРОТН. И СИСТЕМА УПРАВЛЕНИЯ
FIT
1:1
100%

Артикул

Название

Примечание

Количество

|1

207-62-33514

HOSE ASS'Y

1

07102-20317

HOSE,(RED)

2

07102-20317

HOSE,(BLACK)

3

07102-20317

HOSE,(GREEN)

4

07102-20218

HOSE,(BLUE)

5

07102-20217

HOSE,(YELLOW)

6

07102-20217

HOSE,(WHITE)

7

205-62-74230

PLUG

8

07000-02018

O-RING

9

207-62-33911

BOLT,EYE

10

207-62-33910

BOLT,EYE

10A

207-62-32770

ELBOW

11

07040-11409

PLUG

12

07002-01423

O-RING

13

07235-10210

ELBOW

14

207-62-33930

ELBOW

15

207-62-33890

NIPPLE

16

205-62-55270

NIPPLE

16A

07230-20210

UNION

|16A

07230-10210

UNION

17

207-62-33951

NIPPLE

17A

207-62-31820

NIPPLE

18

07002-01423

O-RING

|19

207-62-33524

HOSE ASS'Y

19

07102-20319

HOSE,(RED)

20

07102-20218

HOSE,(GREEN)

21

07102-20217

HOSE,(BLACK)

22

07102-20218

HOSE,(BLUE)

23

07102-20317

HOSE,(YELLOW)

24

07102-20318

HOSE,(WHITE)

25

205-62-74230

PLUG

26

07000-02018

O-RING

27

207-62-33911

BOLT,EYE

28

207-62-33880

ELBOW

28A

207-62-33770

ELBOW

29

07040-11409

PLUG

30

07002-01423

O-RING

31

207-62-33920

ELBOW

32

205-62-74540

ELBOW

33

205-62-74240

NIPPLE

34

205-62-55270

NIPPLE

34A

07230-20210

UNION

|34A

07230-10210

UNION

35

207-62-33951

NIPPLE

35A

207-62-31820

NIPPLE

36

07002-01423

O-RING

37

21K-03-11190

CLIP

38

01010-51225

BOLT

39

01643-31232

WASHER

40

207-62-33553

BRACKET

41

01010-51230

BOLT

42

01643-31232

WASHER

43

01010-51070

BOLT

44

01643-31032

WASHER

45

207-62-33990

GROMMET

Выбрано товаров: 55