Запчасти Komatsu PC400LC-3 ГЛАВН. ТРУБЫ (АВТОМ. ЗАМЕДЛЕНИЕ ОБОРОТОВ¤ С ПОВОРОТН. МЕХАНИЧ. ТОРМОЗ.)(№-) ПОВОРОТН. И СИСТЕМА УПРАВЛЕНИЯ

Схема запчастей Komatsu PC400LC-3 - ГЛАВН. ТРУБЫ (АВТОМ. ЗАМЕДЛЕНИЕ ОБОРОТОВ¤ С ПОВОРОТН. МЕХАНИЧ.   ТОРМОЗ.)(№-) ПОВОРОТН. И СИСТЕМА УПРАВЛЕНИЯ
FIT
1:1
100%

Артикул

Название

Примечание

Количество

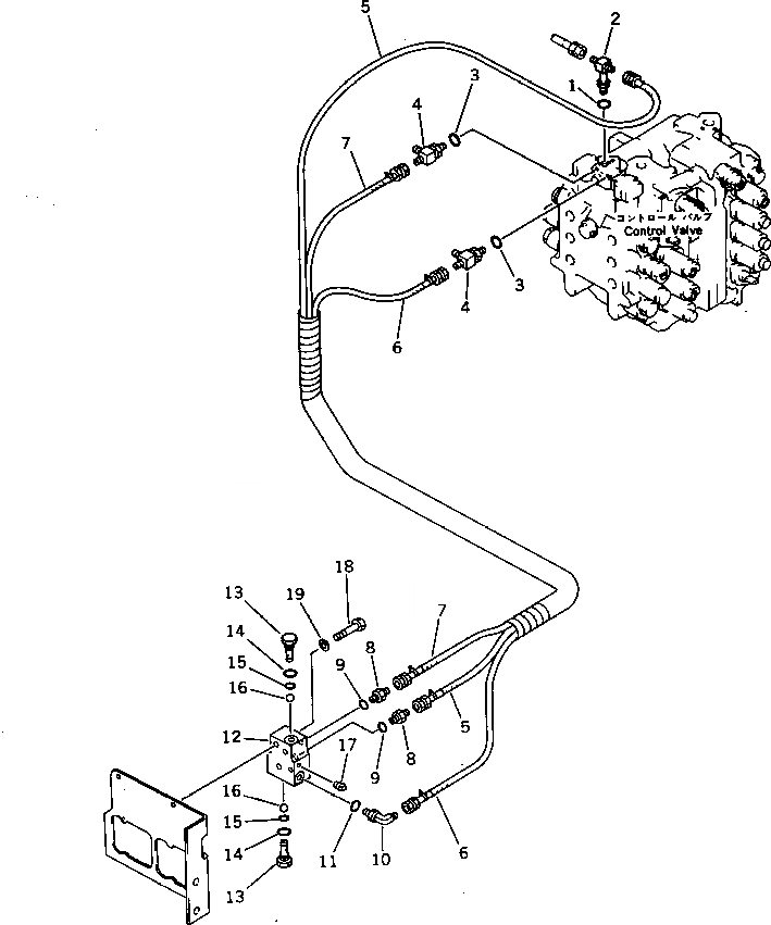
1

07002-01423

O-RING

2

208-26-11611

TEE

3

07002-01423

O-RING

4

208-62-17550

TEE

|5

207-62-33850

HOSE ASS'Y

5

205-62-71780

HOSE,(BLACK)

6

205-62-71770

HOSE,(WHITE)

7

205-62-71780

HOSE

8

07230-10210

UNION

9

07002-01423

O-RING

10

07235-10210

ELBOW

11

07002-01423

O-RING

|12

207-60-00060

SHUTTLE VALVE ASS'Y

12

205-62-74480

BLOCK

13

702-19-12120

PLUG

14

07002-01423

O-RING

15

07000-01007

O-RING

16

04260-00793

BALL

17

07042-30108

PLUG

18

01010-50860

BOLT

19

01643-30823

WASHER

Выбрано товаров: 21