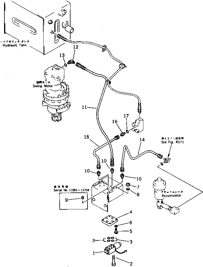
Запчасти Komatsu PC400LC-3 ПОВОРОТН. МЕХАНИЧ. ТОРМОЗНАЯ ГИДРОЛИНИЯ (С ПОВОРОТН. МЕХАНИЧ. ТОРМОЗ.) ПОВОРОТН. И СИСТЕМА УПРАВЛЕНИЯ

Схема запчастей Komatsu PC400LC-3 - ПОВОРОТН. МЕХАНИЧ. ТОРМОЗНАЯ ГИДРОЛИНИЯ (С ПОВОРОТН. МЕХАНИЧ. ТОРМОЗ.) ПОВОРОТН. И СИСТЕМА УПРАВЛЕНИЯ
FIT
1:1
100%

Артикул

Название

Примечание

Количество

1

205-62-74571

VALVE

2

01252-40550

BOLT

3

205-62-74580

O-RING

4

205-62-74211

BLOCK

5

01252-40535

BOLT

6

01601-20513

WASHER,SPRING

7

01580-10504

NUT

8

01601-20513

WASHER,SPRING

9

07042-30312

PLUG

10

22W-62-17710

NIPPLE

11

207-62-33580

HOSE

12

07235-10210

ELBOW

13

07002-01423

O-RING

14

205-62-71770

HOSE

15

205-62-71630

HOSE

16

07230-20210

UNION

|16

07230-10210

UNION

17

07002-01423

O-RING

Выбрано товаров: 18