Запчасти Komatsu PC400LC-5 ОСНОВН. КОНСТРУКЦИЯ (ДЛЯ УДЛИНН. РЫЧАГ УПРАВЛ-Е) (С ДОПОЛН. ГИДРОЛИНИЕЙ)(№-) ЧАСТИ КОРПУСА

Схема запчастей Komatsu PC400LC-5 - ОСНОВН. КОНСТРУКЦИЯ (ДЛЯ УДЛИНН. РЫЧАГ УПРАВЛ-Е) (С ДОПОЛН. ГИДРОЛИНИЕЙ)(№-) ЧАСТИ КОРПУСА
FIT
1:1
100%

Артикул

Название

Примечание

Количество

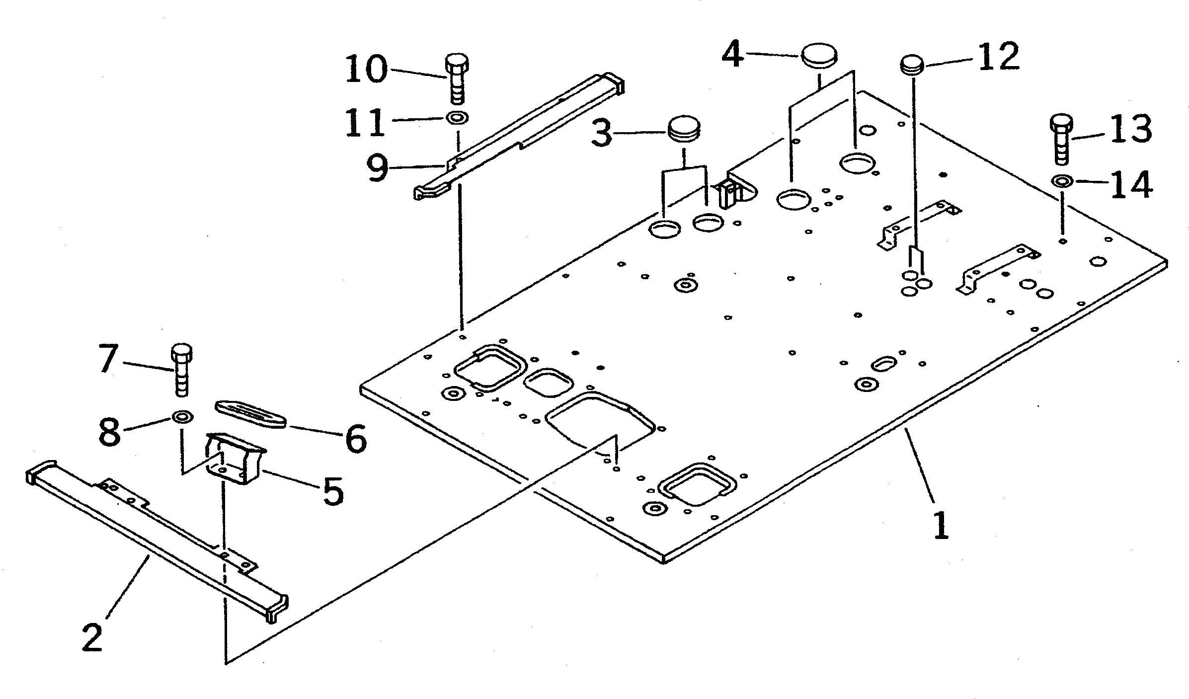
1

207-970-5481

FRAME

|1

207-970-5480

FRAME

2

20Y-970-2451

COVER

3

09415-05022

CAP

4

207-54-53350

SHEET

5

203-43-51451

REST,FOOT

6

203-43-56450

CAP¤ PEDAL

7

01010-51025

BOLT

8

01643-31032

WASHER

9

20Y-06-15510

COVER

10

01010-50816

BOLT

11

01643-30823

WASHER

12

20Y-977-1120

CAP,(WITHOUT COOLER)

13

01010-51220

BOLT

14

01643-31232

WASHER

Выбрано товаров: 15