Запчасти Komatsu PC400LC-5 КАБИНА (/7) (ВНУТР. ПОКРЫТИЕ)(№-7) ЧАСТИ КОРПУСА

Схема запчастей Komatsu PC400LC-5 - КАБИНА (/7) (ВНУТР. ПОКРЫТИЕ)(№-7) ЧАСТИ КОРПУСА
FIT
1:1
100%

Артикул

Название

Примечание

Количество

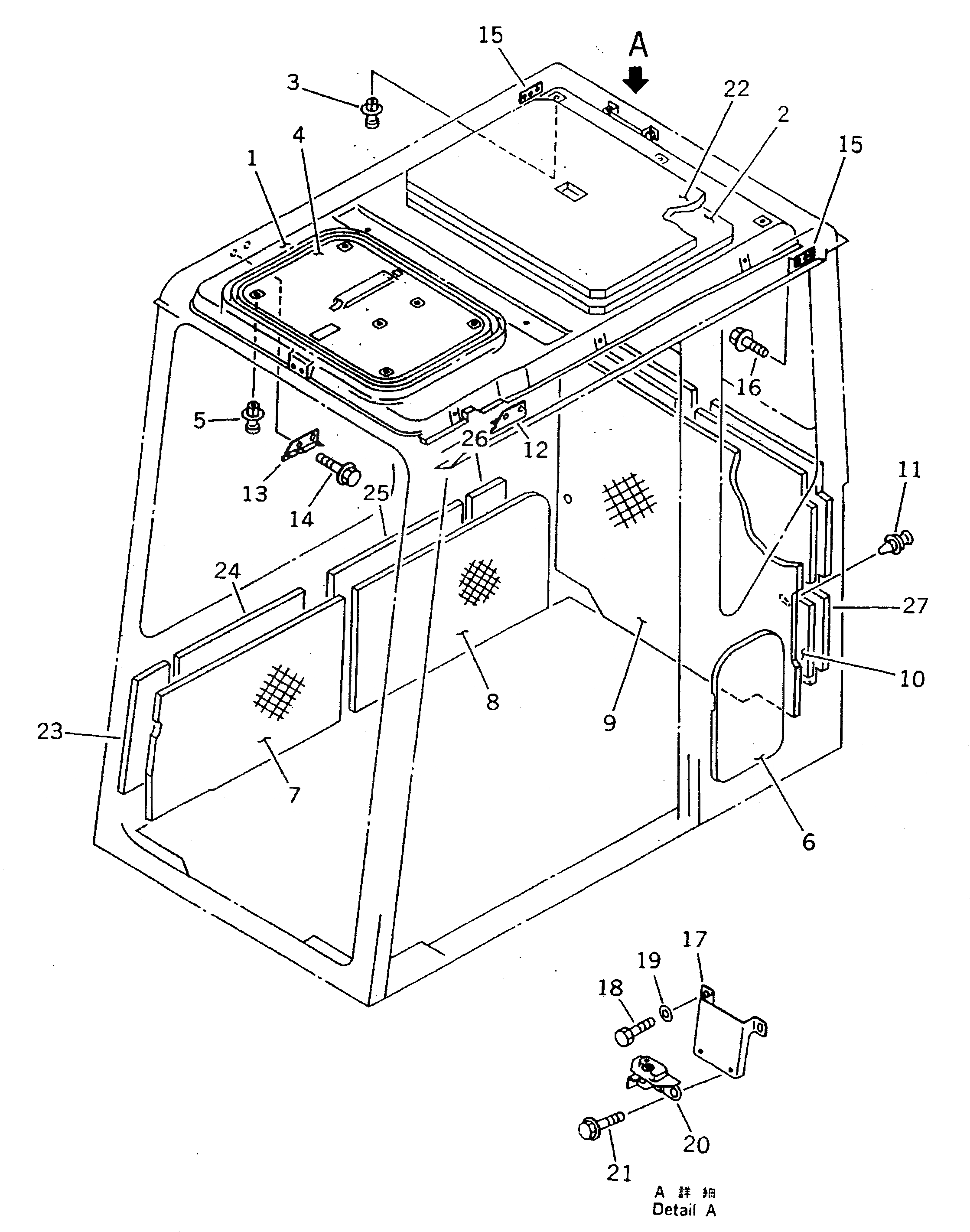
G-1

207-54-X2102

OPERATOR'S CAB GROUP

G-1

207-54-X2101

OPERATOR'S CAB GROUP

G-1

207-54-X1671

OPERATOR'S CAB GROUP

G-1

207-54-X1670

OPERATOR'S CAB GROUP

|1

207-54-00044

OPERATOR'S CAB ASS'Y

|1

207-54-00043

OPERATOR'S CAB ASS'Y

|1

207-54-00042

OPERATOR'S CAB ASS'Y

|1

207-54-00041

OPERATOR'S CAB ASS'Y

1

20Y-54-11924

COVER

2

20Y-54-11961

SHEET

3

20Y-54-13870

RIVET

4

20Y-54-14460

COVER

5

20Y-54-13870

RIVET

6

20Y-54-11952

LINING

7

20Y-54-13432

LINING

8

20Y-54-11942

LINING

9

20Y-54-11913

COVER

10

20Y-54-13933

SHEET

11

20Y-54-14560

CLIP ASS'Y

12

20Y-54-11532

DOVE TAIL,L.H.

13

20Y-54-11542

DOVE TAIL,R.H.

14

01435-01016

BOLT

15

20Y-54-14721

LOCK

16

01435-00820

BOLT

17

20Y-54-13910

BRACKET

18

01010-51020

BOLT

19

01643-31032

WASHER

20

205-54-63310

LOCK ASS'Y

21

01435-00820

BOLT

22

20Y-54-13840

SHEET

23

20Y-54-13810

SHEET

24

20Y-54-13820

SHEET

25

20Y-54-13790

SHEET

26

20Y-54-13780

SHEET

27

20Y-54-13830

SHEET

Выбрано товаров: 35