Запчасти Komatsu PC400LC-5 ОСНОВН. ФИЛЬТР.(№-) УПРАВЛ-Е РАБОЧИМ ОБОРУДОВАНИЕМ

Схема запчастей Komatsu PC400LC-5 - ОСНОВН. ФИЛЬТР.(№-) УПРАВЛ-Е РАБОЧИМ ОБОРУДОВАНИЕМ
FIT
1:1
100%

Артикул

Название

Примечание

Количество

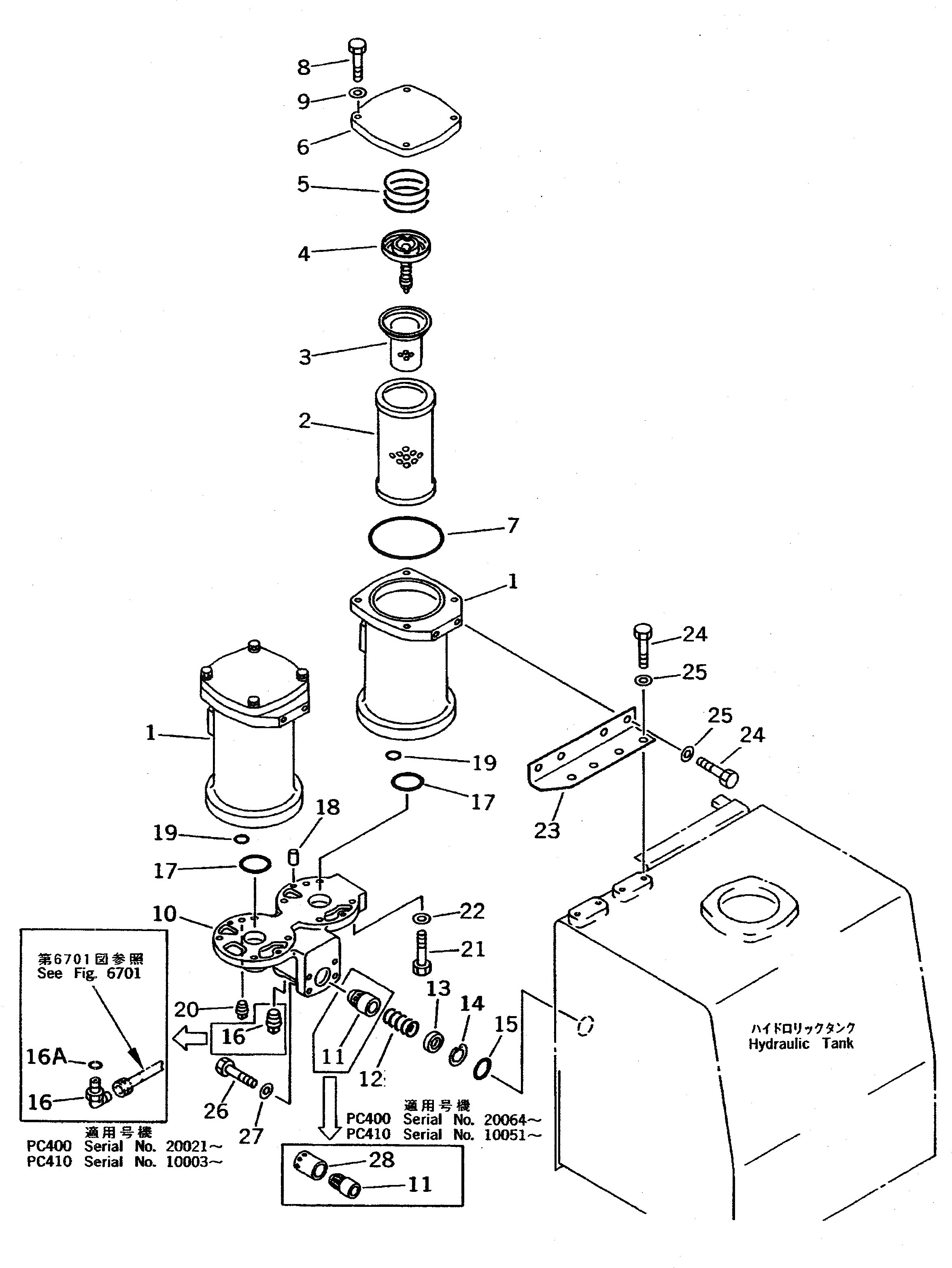
1

208-60-51350

CASE

2

07063-01142

ELEMENT

3

206-60-41221

STRAINER

4

12R-60-11300

VALVE ASS'Y

5

12R-60-11390

SPRING

6

207-60-51440

COVER

7

07000-05180

O-RING

8

01010-51245

BOLT

9

01643-31232

WASHER

10

208-60-51371

BRACKET

|10

208-60-51370

BRACKET

11

208-60-51411

POPPET

|11

208-60-51410

POPPET

|11

205-60-71230

POPPET

12

708-1D-14130

SPRING

|12

706-76-71190

SPRING

13

208-60-51392

SPACER

|13

208-60-51391

SPACER

|13

208-60-51390

SPACER

14

04065-04218

RING,SNAP

|14

04065-05020

RING,SNAP

15

07000-02060

O-RING

16

07235-10315

ELBOW

|16

07042-30617

PLUG

16A

07002-02034

O-RING

17

07000-02080

O-RING

18

04020-00820

PIN

19

07000-02020

O-RING

20

07042-30211

PLUG

21

01010-51245

BOLT

22

01643-31232

WASHER

23

208-60-51380

PLATE

24

01010-51230

BOLT

25

01643-31232

WASHER

26

01010-51245

BOLT

27

01643-31232

WASHER

28

208-60-51420

COLLAR

Выбрано товаров: 37