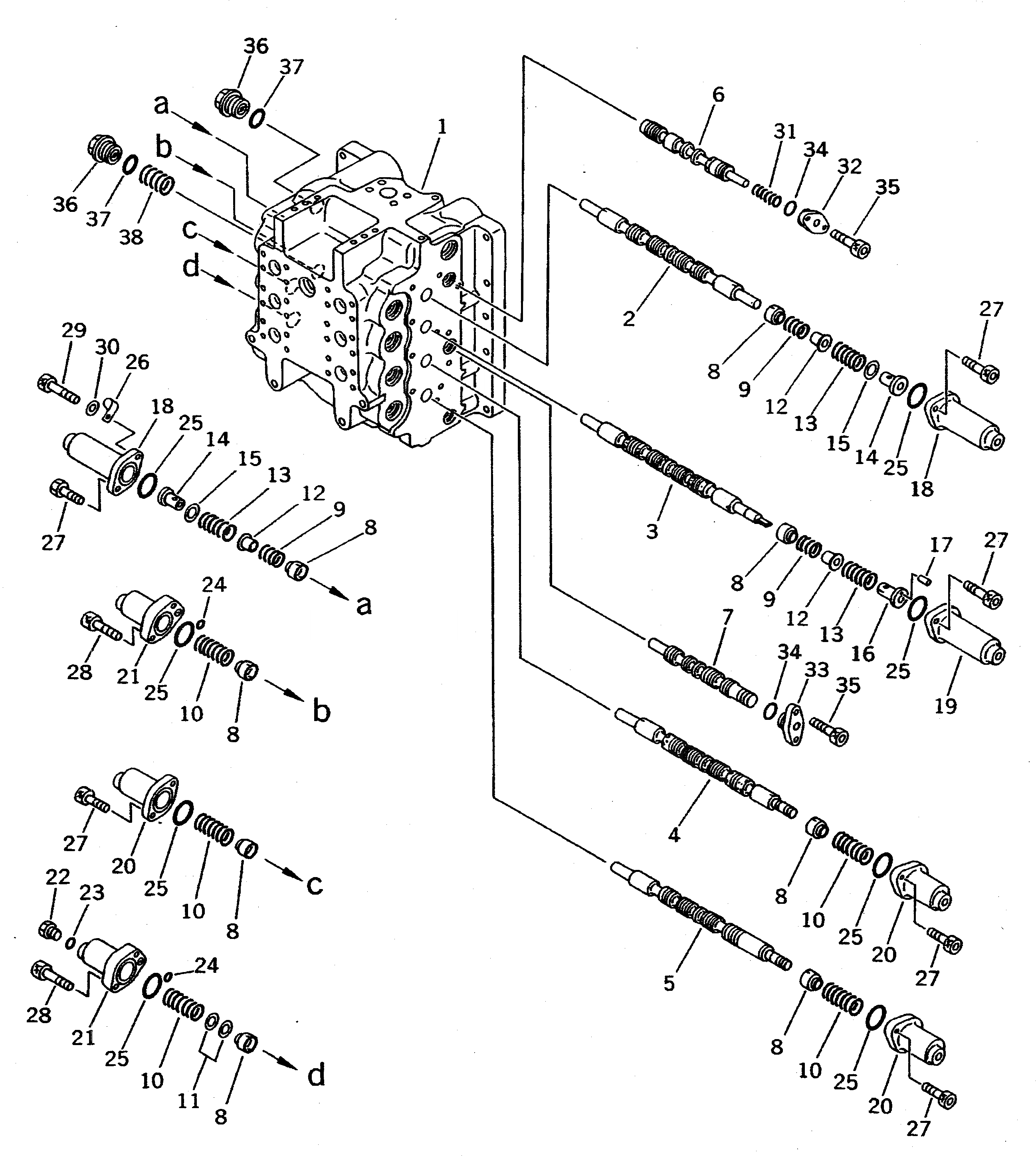
Запчасти Komatsu PC400LC-5 УПРАВЛЯЮЩ. КЛАПАН (/7) (ДЛЯ ЭКСКАВАТ.)(№-) УПРАВЛ-Е РАБОЧИМ ОБОРУДОВАНИЕМ

Схема запчастей Komatsu PC400LC-5 - УПРАВЛЯЮЩ. КЛАПАН (/7) (ДЛЯ ЭКСКАВАТ.)(№-) УПРАВЛ-Е РАБОЧИМ ОБОРУДОВАНИЕМ
FIT
1:1
100%

Артикул

Название

Примечание

Количество

|1

709-99-14103

CONTROL VALVE ASS'Y

|1

709-99-14102

CONTROL VALVE ASS'Y

|1

709-94-94102

VALVE ASS'Y

1

BODY,VALVE

2

SPOOL,L.H. TRAVEL

3

SPOOL,BOOM LOW

4

SPOOL,BUCKET

5

SPOOL,ARM HIGH

6

SPOOL

7

SPOOL

8

709-94-91130

RETAINER

9

709-94-92510

SPRING

10

709-94-91120

SPRING

11

709-94-91760

SPACER¤ 1.0MM

12

709-94-92530

RETAINER

13

709-94-92520

SPRING

14

709-94-92540

RETAINER

15

709-94-92550

SPACER¤ 0.5MM

16

709-94-92620

RETAINER

17

04022-04008

PIN

18

709-94-92560

CASE

19

709-94-92610

CASE

20

709-94-91210

CASE

21

709-94-91220

CASE

22

07040-12012

PLUG

23

07002-02034

O-RING

24

07000-02010

O-RING

25

07430-71380

O-RING

26

08036-31210

CLIP

27

01252-30820

BOLT

28

01252-30830

BOLT

29

01252-30825

BOLT

30

01643-30823

WASHER

31

709-94-92470

SPRING

32

709-94-91490

PLATE

33

709-94-91140

PLATE

34

700-13-31161

O-RING

35

01252-30820

BOLT

36

709-74-92220

PLUG

37

07002-03034

O-RING

38

709-94-91160

SPRING

Выбрано товаров: 41