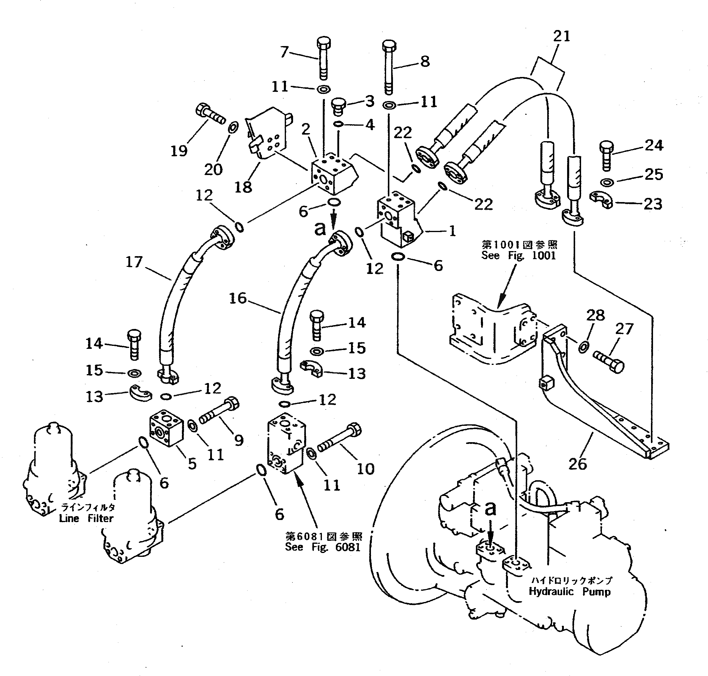
Запчасти Komatsu PC400LC-5 НАСОС - ФИЛЬТР ТРУБЫ (СО СЪЕМОМ ПРОТИВОВЕСА)(№-) УПРАВЛ-Е РАБОЧИМ ОБОРУДОВАНИЕМ

Схема запчастей Komatsu PC400LC-5 - НАСОС - ФИЛЬТР ТРУБЫ (СО СЪЕМОМ ПРОТИВОВЕСА)(№-) УПРАВЛ-Е РАБОЧИМ ОБОРУДОВАНИЕМ
FIT
1:1
100%

Артикул

Название

Примечание

Количество

1

207-62-56410

BLOCK

2

207-62-52680

BLOCK

3

07040-11007

PLUG

4

07002-11023

O-RING

5

207-62-51880

BLOCK

6

21T-09-11470

O-RING

7

01010-51085

BOLT

8

01011-51055

BOLT

9

01010-51070

BOLT

10

01010-51085

BOLT

11

01643-31032

WASHER

12

21T-09-11460

O-RING

13

07371-31049

FLANGE,SPLIT

14

07372-21035

BOLT

15

01643-51032

WASHER

16

208-62-51580

HOSE

17

207-62-51921

HOSE

18

207-62-52690

PLATE

19

01010-51020

BOLT

20

01643-31032

WASHER

21

207-62-52650

HOSE

22

21T-09-11460

O-RING

23

07371-31049

FLANGE,SPLIT

24

07372-21035

BOLT

25

01643-51032

WASHER

26

207-62-56430

BRACKET

27

01010-51240

BOLT

28

01643-31232

WASHER

Выбрано товаров: 28