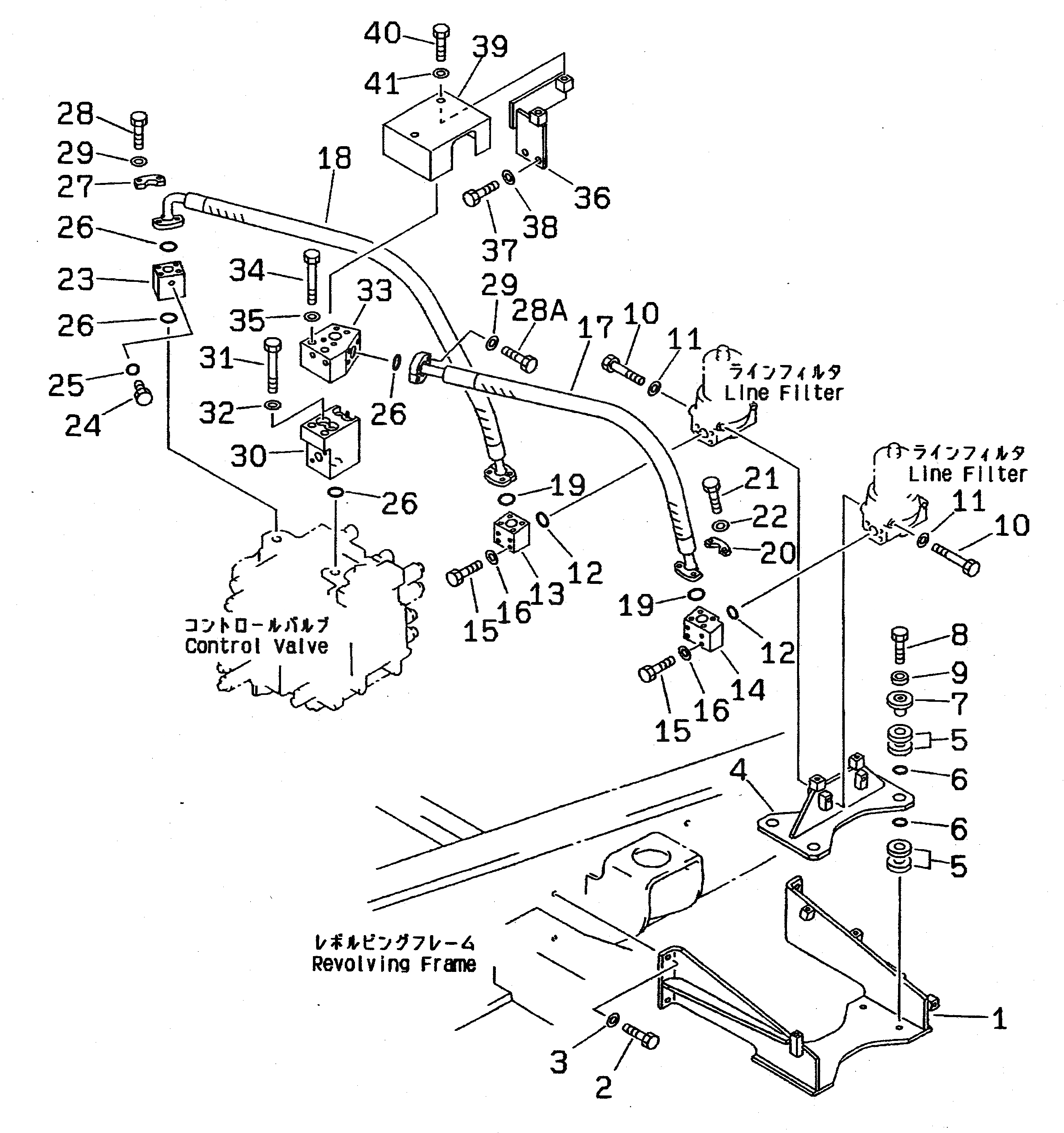
Запчасти Komatsu PC400LC-5 ФИЛЬТР - УПРАВЛЯЮЩ. КЛАПАН ТРУБЫ (ДЛЯ НАСОСS)(№-) УПРАВЛ-Е РАБОЧИМ ОБОРУДОВАНИЕМ

Схема запчастей Komatsu PC400LC-5 - ФИЛЬТР - УПРАВЛЯЮЩ. КЛАПАН ТРУБЫ (ДЛЯ НАСОСS)(№-) УПРАВЛ-Е РАБОЧИМ ОБОРУДОВАНИЕМ
FIT
1:1
100%

Артикул

Название

Примечание

Количество

1

207-62-51931

BRACKET

2

01010-51235

BOLT

3

208-01-11270

WASHER

4

207-62-51811

BRACKET

5

207-62-52670

CUSHION

6

07000-03022

O-RING

7

207-62-52570

COLLAR

8

01010-51280

BOLT

9

208-01-11270

WASHER

10

01011-51220

BOLT

11

01643-31232

WASHER

12

21T-09-11470

O-RING

13

207-62-51891

BLOCK

14

207-62-52721

BLOCK

15

01010-51070

BOLT

16

01643-31032

WASHER

17

207-970-5590

HOSE

18

207-62-52541

HOSE

19

21T-09-11460

O-RING

20

07371-31049

FLANGE,SPLIT

21

07372-21035

BOLT

22

01643-51032

WASHER

23

207-62-52280

BLOCK

24

07040-11007

PLUG

25

07002-11023

O-RING

26

21T-09-11460

O-RING

27

07371-31049

FLANGE,SPLIT

28

207-62-51420

BOLT

28A

07372-21035

BOLT

29

01643-51032

WASHER

30

207-970-5760

BLOCK

31

01011-51020

BOLT

32

01643-51032

WASHER

33

207-970-5750

BLOCK

34

01010-51480

BOLT

35

01643-31445

WASHER

36

207-970-5790

BRACKET

37

01010-51230

BOLT

38

01643-31232

WASHER

39

207-970-5730

COVER

40

01010-51220

BOLT

41

01643-31232

WASHER

Выбрано товаров: 42