Качественные детали и логистика
Оригинальные и аналоговые запчасти с доставкой по России, Казахстану и Беларуси
©2022 PartSell ООО "Система" ИНН 2463123282 ОГРН 1212400004838
Центральный офис: г. Красноярск, Академика Киренского, д.87, пом.4
Телефон: 8 (800) 777-65-74 Email: zakaz@partsell.ru
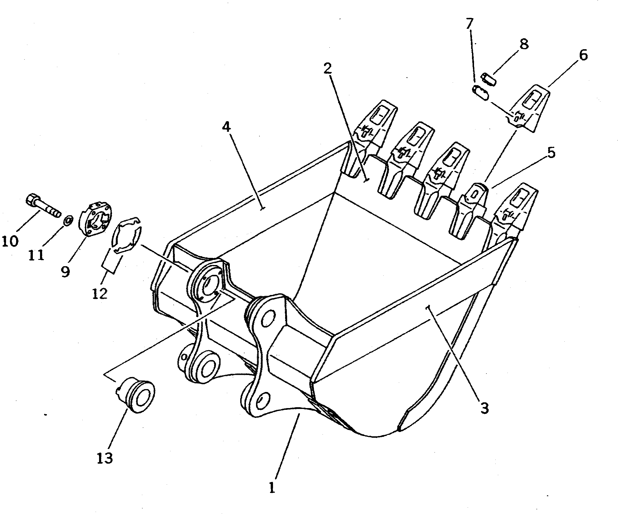
КОВШ .M¤ 7MM (ВЕРТИКАЛЬН. ПАЛЕЦ)(№-)
№
Артикул
Название
Примечание
Количество
G-1
208-920-X120
BUCKET GROUP
1
208-920-5210
BUCKET
2
208-920-5240
PLATE (WELDED)
3
208-920-5230
4
208-920-5220
5
208-70-34150
ADAPTER (WELDED)
6
208-70-34211
TOOTH
7
208-70-34220
PIN
8
208-70-34191
LOCK
9
208-70-34240
COVER
10
01010-32470
BOLT
|10
01010-52470
11
01643-32460
WASHER
G-2
208-70-X4030
PARTS GROUP,INDIVIDUALLY FORWARDING
12
208-70-00080
SHIM ASS'Y
|12
SHIM¤ 0.5MM
SHIM¤ 1.0MM
13
208-70-34230
BUSHING
Выбрано товаров: 0