Запчасти Komatsu PC400LC-5 ОСНОВНАЯ РАМА (ДЛЯ НАСОСS) СИСТЕМА УПРАВЛЕНИЯ И ОСНОВНАЯ РАМА

Схема запчастей Komatsu PC400LC-5 - ОСНОВНАЯ РАМА (ДЛЯ НАСОСS) СИСТЕМА УПРАВЛЕНИЯ И ОСНОВНАЯ РАМА
FIT
1:1
100%

Артикул

Название

Примечание

Количество

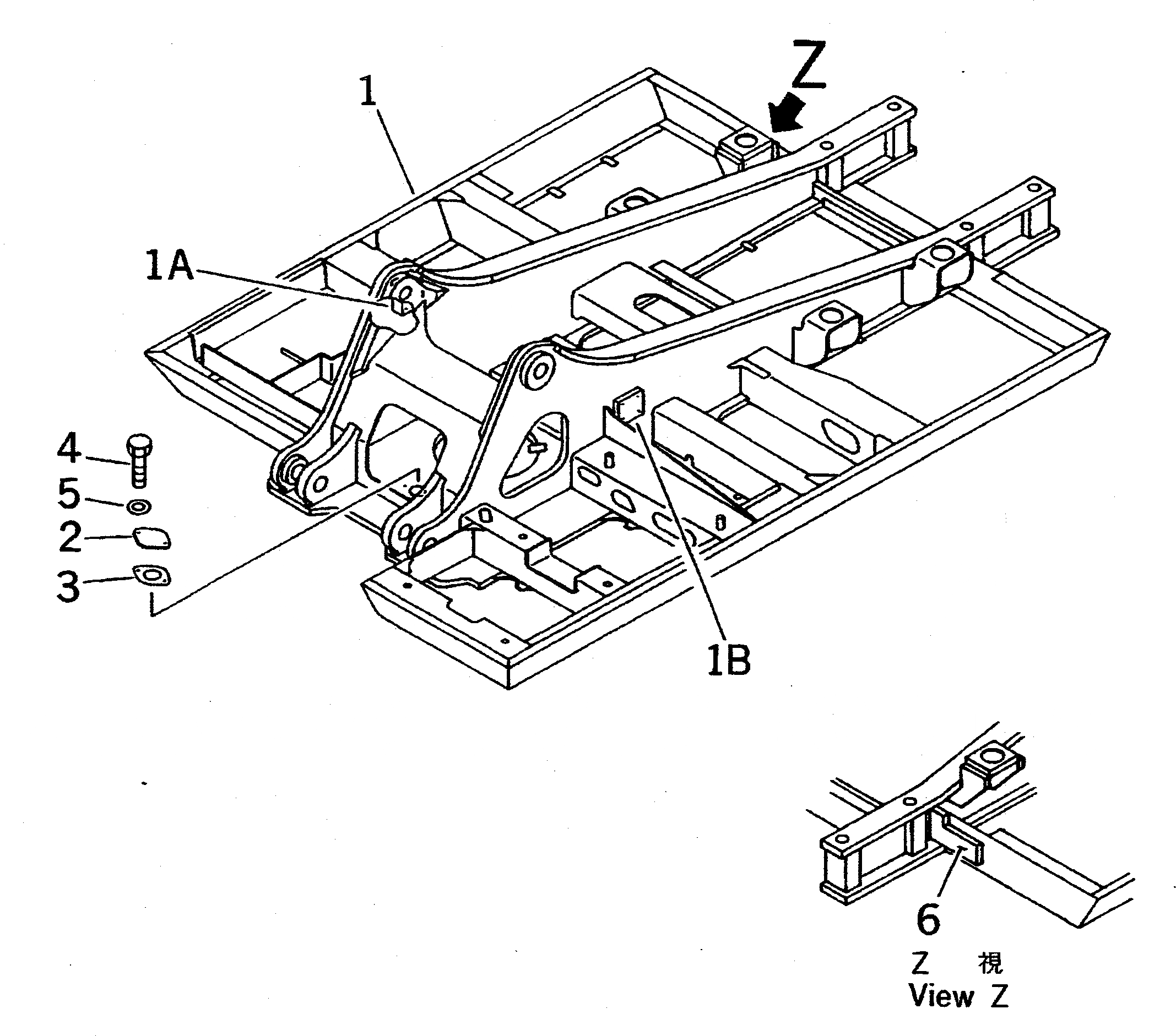
1

208-970-5411

FRAME

1A

207-970-5160

BRACKET (WELDED)

1B

207-970-5550

PLATE (WELDED)

2

205-30-71181

COVER

3

205-30-71191

GASKET

4

01010-51230

BOLT

5

01643-31232

WASHER

6

208-54-52730

SHEET

Выбрано товаров: 8