Запчасти Komatsu PC400LC-5 ЗАДН. VIEW MIRROW¤ ЛЕВ. (СПЕЦ-Я TBG) (ДЛЯ SWEDEN)(№-) ЧАСТИ КОРПУСА

Схема запчастей Komatsu PC400LC-5 - ЗАДН. VIEW MIRROW¤ ЛЕВ. (СПЕЦ-Я TBG) (ДЛЯ SWEDEN)(№-) ЧАСТИ КОРПУСА
FIT
1:1
100%

Артикул

Название

Примечание

Количество

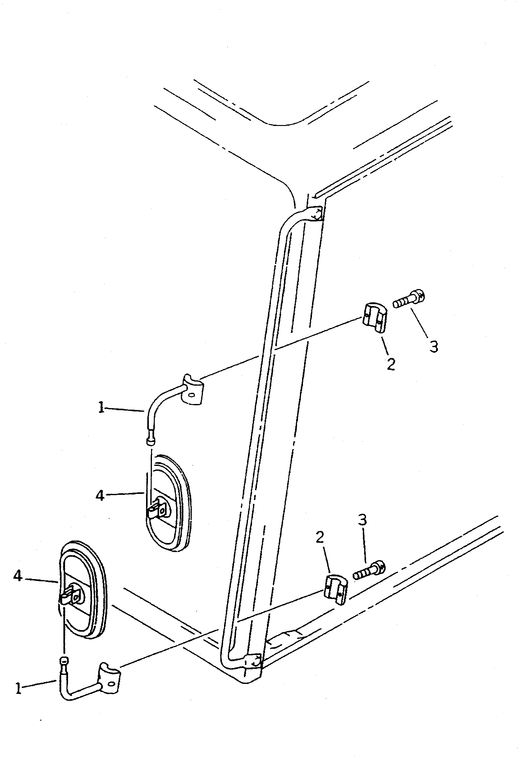
G-1

208-54-X2110

GUARD GROUP

1

205-54-77121

SUPPORT

2

205-54-77551

CLAMP

3

01252-41025

BOLT

4

08174-13118

MIRROR

Выбрано товаров: 0