Запчасти Komatsu PC400LC-5 КОМПОНЕНТЫ КОНДИЦИОНЕРА(№-) ЧАСТИ КОРПУСА

Схема запчастей Komatsu PC400LC-5 - КОМПОНЕНТЫ КОНДИЦИОНЕРА(№-) ЧАСТИ КОРПУСА
FIT
1:1
100%

Артикул

Название

Примечание

Количество

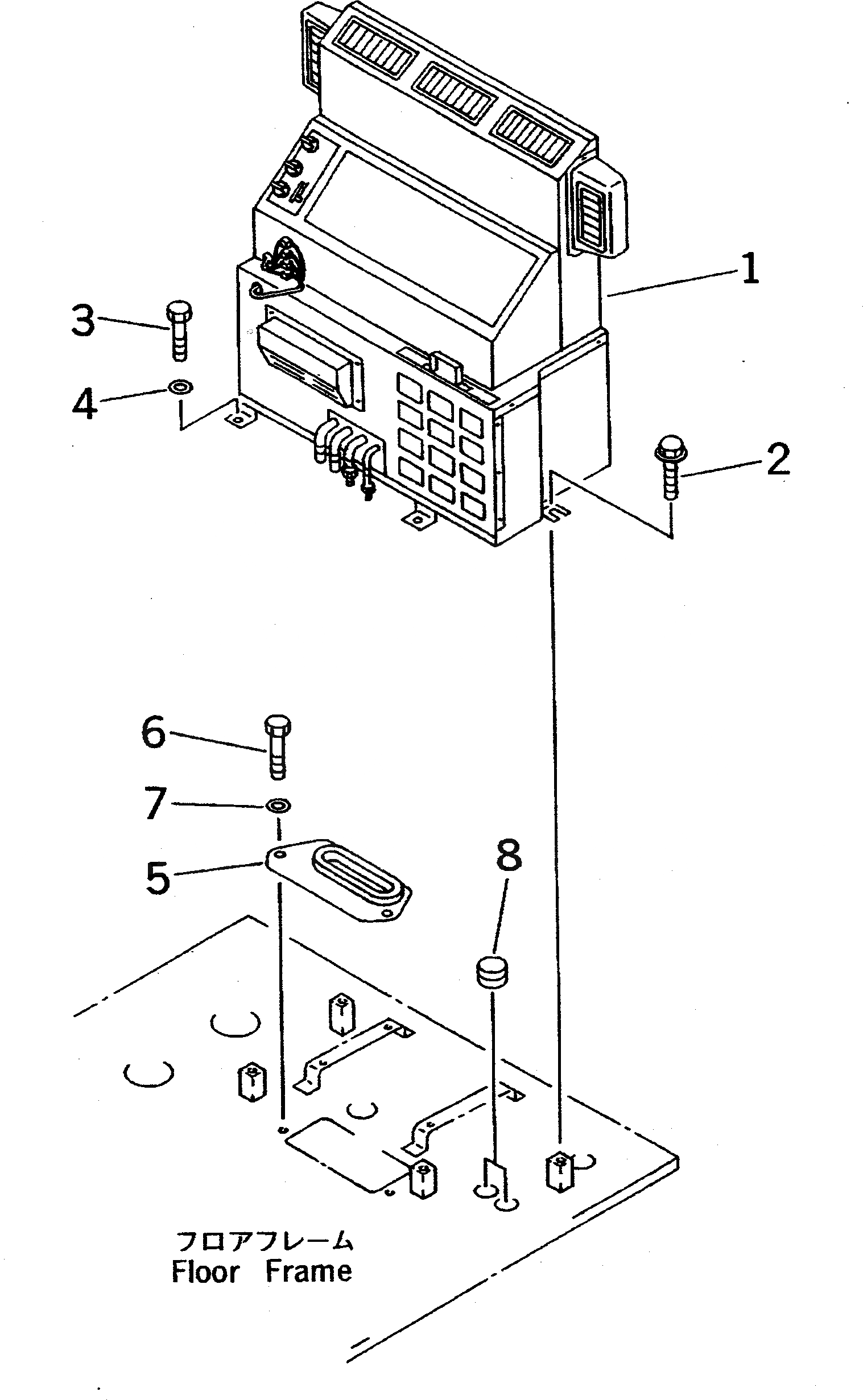
1

207-979-5410

AIR CONDITIONER A.,(SEE FIG.5901A)

2

01439-01230

BOLT

2

195-54-26230

BOLT

3

01010-51230

BOLT

4

01643-31232

WASHER

5

207-979-5510

COVER

6

01010-51020

BOLT

7

01643-31032

WASHER

8

20Y-977-1120

CAP

Выбрано товаров: 0