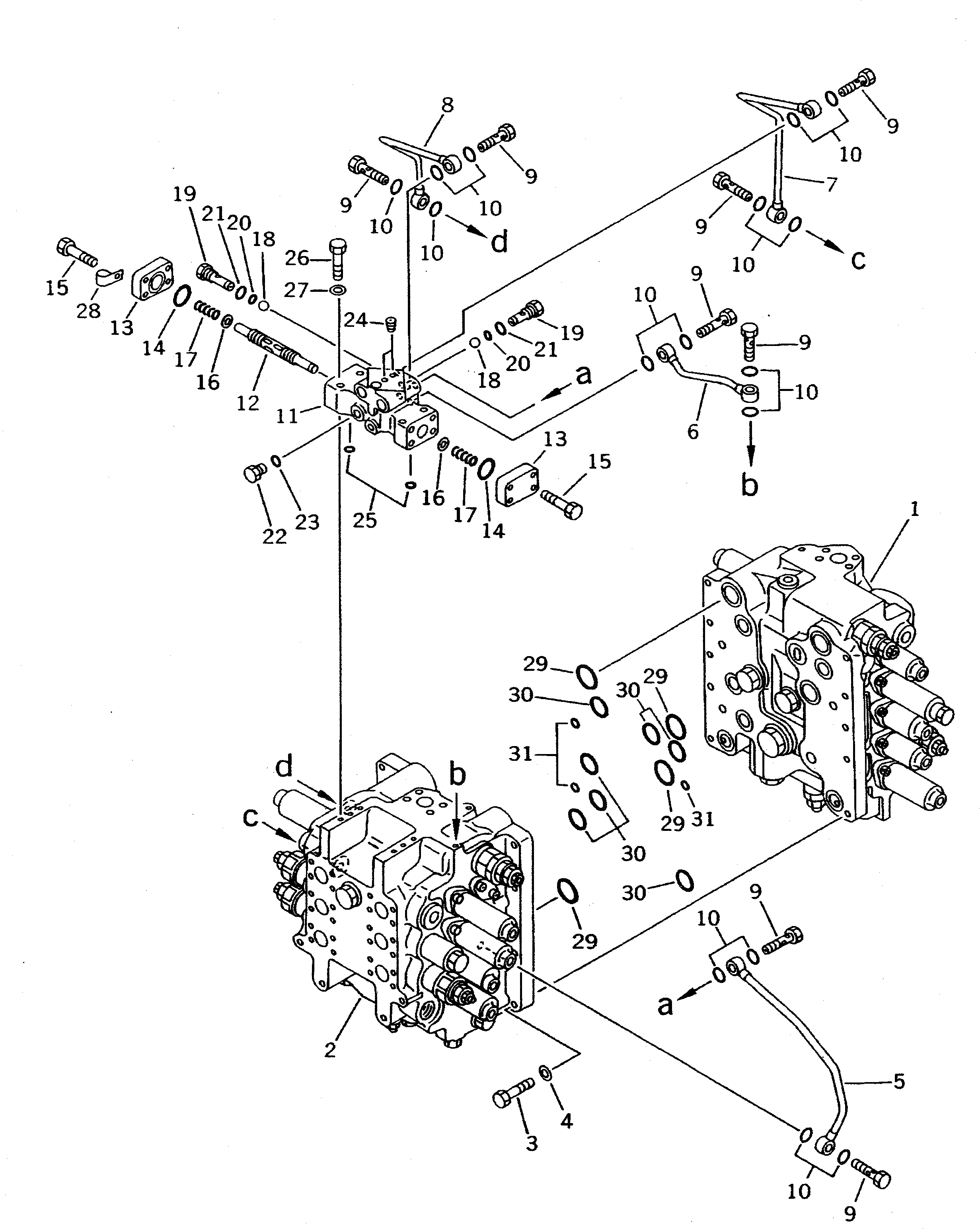
Запчасти Komatsu PC400LC-5 УПРАВЛЯЮЩ. КЛАПАН (/7) (ДЛЯ ПОГРУЗ.) УПРАВЛ-Е РАБОЧИМ ОБОРУДОВАНИЕМ

Схема запчастей Komatsu PC400LC-5 - УПРАВЛЯЮЩ. КЛАПАН (/7) (ДЛЯ ПОГРУЗ.) УПРАВЛ-Е РАБОЧИМ ОБОРУДОВАНИЕМ
FIT
1:1
100%

Артикул

Название

Примечание

Количество

|$0

709-99-14201

CONTROL VALVE ASS'Y

|$1

709-99-14200

CONTROL VALVE ASS'Y

1

709-95-94201

VALVE ASS'Y

1

709-95-94200

VALVE ASS'Y

2

709-94-94102

VALVE ASS'Y

3

01010-51250

BOLT

4

01643-31232

WASHER

5

709-99-11132

TUBE

6

709-99-11111

TUBE

7

709-99-11141

TUBE

8

709-99-11121

TUBE

9

709-79-11190

BOLT

10

07000-02011

O-RING

|$14

709-70-91901

SHUTTLE VALVE ASS'Y

|$15

709-70-91900

SHUTTLE VALVE ASS'Y

11

BODY

12

SPOOL

13

709-70-91150

PLATE

14

07000-13025

O-RING

15

01010-50825

BOLT

16

706-73-77140

PLATE

17

709-70-91240

SPRING

17

709-70-91130

SPRING

18

04260-00952

BALL

19

709-70-91220

PLUG

20

07000-01007

O-RING

21

07002-01423

O-RING

22

07040-11409

PLUG

23

07002-01423

O-RING

24

07043-70108

PLUG

25

07000-11009

O-RING

26

01010-50855

BOLT

27

01643-30823

WASHER

28

08036-30810

CLIP

29

07000-13040

O-RING

30

07000-13032

O-RING

31

07000-02010

O-RING

Выбрано товаров: 37