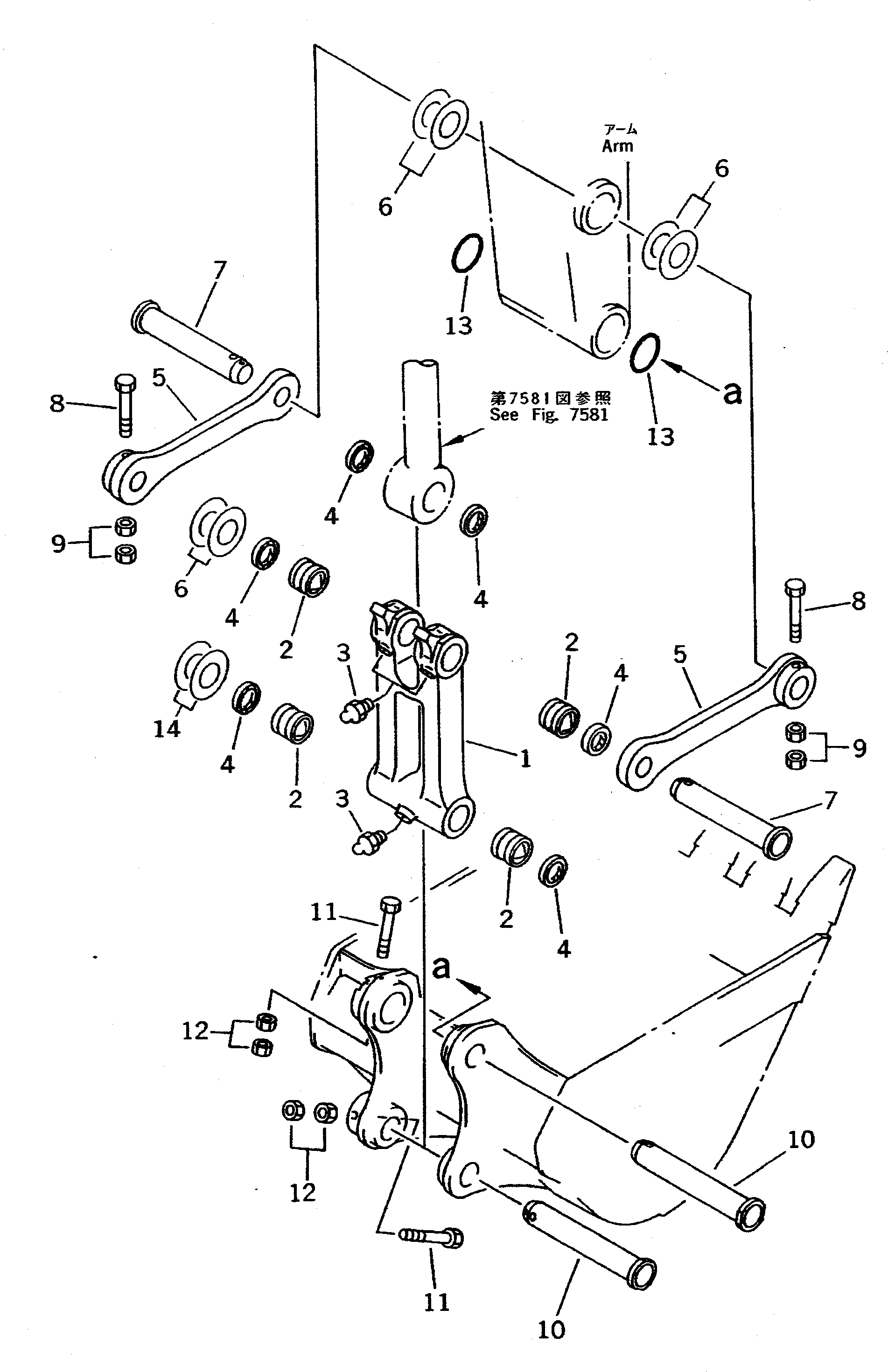
Запчасти Komatsu PC400LC-5 СОЕДИНИТЕЛЬН. ЗВЕНО РАБОЧЕЕ ОБОРУДОВАНИЕ (ЭКСКАВАТ.)

Схема запчастей Komatsu PC400LC-5 - СОЕДИНИТЕЛЬН. ЗВЕНО РАБОЧЕЕ ОБОРУДОВАНИЕ (ЭКСКАВАТ.)
FIT
1:1
100%

Артикул

Название

Примечание

Количество

G-1

208-70-X3010

LINK GROUP

|$2

208-70-00120

LINK ASS'Y

1

LINK

2

208-70-13141

BUSHING

3

07020-00000

FITTING,GREASE

4

208-70-12231

SEAL,DUST

5

208-70-33120

LINK

6

207-70-11340

SPACER, 0.8MM

7

208-70-33140

PIN

8

207-70-13340

BOLT

9

01580-12419

NUT

10

208-70-33130

PIN

11

207-70-13340

BOLT

12

01580-12419

NUT

G-2

208-70-X3020

PARTS GROUP,INDIVIDUALLY FORWARDING

13

208-70-33181

O-RING

13

208-70-33180

O-RING

14

207-70-11340

SPACER, 0.8MM

Выбрано товаров: 18